Global Environmental Energy Technology

Aus Psiram
(Weitergeleitet von GEET)
Zur Navigation springen Zur Suche springen
Paul Pantone (älteres Bild)

Die Global Environmental Energy Technology (GEET) ist ursprünglich eine Erfindung des US-amerikanischen Erfinders Paul Pantone (geb. 1950) aus Utah (USA). Der inzwischen wegen mehrfachen Betruges verurteilte Pantone behauptete, Verfahren entdeckt zu haben, die den Wirkungsgrad von Otto- und Dieselmotoren verbessern, was ihn zu seinem "Pantone Plasma Reactor Motor" führte. Im deutschsprachigen Raum wird GEET von Adolf Schneider (aufgelöste Firma TransAltec AG) und dem NET-Journal und in den USA insbesondere von Sterling Allan propagiert. Aktuell (2012) ist liegt keine unabhängige seriös veröffentlichte positive Expertise zur GEET-Technologie vor.

Mittlerweile gibt es zahlreiche Personen und Unternehmen, die sich auf Pantone und die "GEET-Technologie" berufen, um Produkte zu bewerben, von denen behauptet wird, sie seien in der Lage, bei herkömmlichen Verbrennungsmotoren den Wirkungsgrad zu erhöhen. Insbesondere ist im deutschsprachigen Raum zu beobachten, dass Anbieter mit GEET werben, um Blockheizkraftwerke mit Wunderwirkungsgraden abzusetzen; dies vor dem Hintergrund aktueller gesetzlicher Regelungen zur Einspeisevergütung von elektrischer Energie. Auch gibt es Behauptungen, dass sich mit der GEET-Technik so genannte "Wassermotoren" realisieren ließen, die hauptsächlich oder ausschließlich mit Wasser betrieben werden.

Die hier gemeinte GEET-Technologie hat nur am Rande etwas mit den im Handel erhältlichen Bausätzen zur Umrüstung von Dieselmotoren auf Pflanzenöle ("PÖL") zu tun. Dieselmotoren, die mit Pöl betrieben werden, laufen zunächst mit Diesel an und erst bei warmem Motor wird auf durch das Kühlwasser vorgewärmte Pflanzenöl umgeschaltet. Es handelt sich hierbei um ausgereifte Entwicklungen; die Anbieter behaupten keinerlei Treibstoffersparnis oder wundersame Verminderungen bei den Abgaswerten.

Behauptungen zu GEET

Auszüge aus Pantones Patent
Auszug aus Pantones Patent

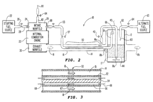
Paul Pantone beschreibt herkömmliche Otto- oder Dieselmotoren, bei denen er die Vergaser bzw. die Einspritzpumpen durch einen "Plasmareaktor" ersetzt haben will. Der Reaktor besteht im Wesentlichen aus einer abgasbeheizten (ca. 400-900 Grad C) Zylinderkonstruktion zur Erhitzung der diversen, zum Teil sehr eigentümlichen Treibstoffe. Die Vorerhitzung sowie ein Unterdruck sollen zu einem zusätzlichen thermischen (elektrokatalytischen) Cracking der Treibstoffe und zur Bildung eines "selbstgenerierten" Plasmas führen. Die Abgase sollen durch den Treibstoff geleitet werden (sogenanntes Bubbler-Verfahren). Pantone ließ sein Verfahren in den USA patentieren und meldete es auch in anderen Ländern zum Patent an.[1]

Zusätzlich wird von einigen GEET-Anhängern behauptet, dass der zugeführte Treibstoff im röhrenförmigen Reaktor durch Verwirbelung entstehende "Zentrifugalkräfte" in einem zusätzlichen "Wirbelrohr" in leichte und schwere Moleküle getrennt werde. Aufgrund der Temperatur und des Unterdrucks erhalte das Wasser im Treibstoff eine "überkritische Temperatur" und spalte sich teilweise in Wasserstoff und Sauerstoff auf, die wiederum im Verbrennungsraum des Motors verbrannt werden könnten.

Als Vorteile werden genannt:

  • Geringerer Treibstoffverbrauch durch Zumischung von Wasser
  • Weniger giftige Abgase
  • Einsparung komplizierter Vergaser und Einspritzpumpen

Anhänger der GEET-Technik behaupten, dass es weltweit mehrere funktionierende Prototypen gebe. In Frankreich behauptet der Landwirt Antoine Gillier, seit Jahren einen Traktor mit "G-Pantone" zu betreiben. Nach seinen Angaben verwendet er einen umgebauten Traktor, dessen Treibstoff zu 75% aus Wasser und nur zu 25% aus Diesel bestehen soll. In diesem Zusammenhang wird der französische Ingenieur Christophe Martz genannt, der zu GEET eine Diplomarbeit verfasst hat.[2][3] In Deutschland wird GEET u.a. von dem in Düsseldorf lebenden Physiker[4] Theo Almeida Murphy (geb. 1966, England) propagiert,[5] der freiberuflich in der IT-Branche tätig ist. Zusammen mit seinem Partner Jakob Christ habe er "einen Rasenmäher und ein Notstromaggregat erfolgreich auf GEET" umgerüstet. Almeida Murphy tritt mit Vorträgen und Veröffentlichungen in der Freien-Energie-Szene in Erscheinung.[6]

GEET-Treibstoffe

Behauptet wird, dass auch Rohfette tierischer oder pflanzlicher Herkunft und Altöl zum Betrieb von Wärmekraftmaschinen geeignet seien. Auch könne den Treibstoffen Wasser in erstaunlicher Menge zugesetzt werden, genauso wie Milch, Cola oder Ketchup. Nach einigen Angaben soll Schwefelsäure (Batteriesäure) und Salzwasser zuzusetzen sein.

Erfinder Paul Pantone

Paul Pantone wurde 1950 in Detroit geboren. Zur Zeit lebt er in Oklahoma, USA. Im Dezember 2005 wurde Pantone wegen Anlagebetrugs ("securities fraud") verurteilt, nachdem er sich im Laufe des Prozesses selbst als schuldig bekannt hatte. Wegen einer bestehenden Unzurechnungsfähigkeit setzte der Richter die Strafe aus und ordnete eine Unterbringung im Utah State Mental Hospital zur stationären psychiatrischen Behandlung an. Im Mai 2009 wurde Pantone aus der stationären Behandlung entlassen.

Weblinks

Quellen

  1. US 5794601: Fuel pretreater apparatus and method. Patent erteilt: 18. August 1998. Auch angemeldet als EP 793771, WO 1996/014501, AU 199643635 (Patent 1999 erteilt) und in weiteren Ländern
  2. Homepage von Christophe Martz
  3. NET-Journal 12, Heft Nr. 11/12, November/Dezember 2007
  4. Almeida Murphy, Theo Christopher: Stickstoffimplantation in C 60. Dissertation am Fachbereich Physik der Humboldt-Universität. Berlin 1996
  5. Homepage von Theo Almeida-Murphy zu GEET
  6. Theo Almeida-Murphy, Paul und Jakob Christ: GEET-Technologie und Hocheffizienzelektrolyse im Einsatz mit Demos. In: Tesla-Technologien - Freie Energie - der Motor der Revolution! Sammlung von 6 DVDs mit Beiträgen von Konstantin Meyl, Claus Turtur, Thorsten Ludwig, Walter Medinger und anderen. Buch: Michael Vogt. Kopp Verlag 2010