Aqua Flame

Aus Psiram
Zur Navigation springen Zur Suche springen
Werbung für Aqua Flame (Bild: Purratio AG)

Aqua Flame (Wasserflamme) ist ein Produkt der deutschen Firma Purratio AG aus Neuhausen a.d. Fildern,[1] das, sollte es die in der Werbung behaupteten Eigenschaften haben, ein Perpetuum Mobile darstellen würde.

Allgemeines

Nach Angaben des Herstellers Purratio sei das zum Patent angemeldete[2] Prinzip von "Aqua Flame" ein Prozess, bei dem eine kalte Fusion zur Wärmeerzeugung diene. Wörtlich ist die Rede von einer "Technologie zur kontrollierten Nutzung der Fusionsenergie" mit dem utopischen Ziel einer Wärmeenergiegewinnung "zum finanziellen Nulltarif" bei Unabhängigkeit von Energielieferanten. Das Verfahren könne "fossile und/oder nachwachsende und/oder chemische Brennstoffe" ersetzen.

Die Rede ist von zukünftigen Ein-Familienheizungsanlagen, die bei einer Zufuhr von beispielsweise einem Kilowatt elektrischer Leistung zehn Kilowatt thermische Heizleistung abgeben sollen. Verbrauche ein Haushalt im Jahr 4.000 Liter Heizöl und 250 kWh Strom, so reduziere sich dies mit Aqua Flame auf einen Verbrauch von 1.500 Litern Wasser und 1.200 kWh Strom, wobei diese Werte "minimierungsfähig" seien. Nach Angaben von Purratio seien Tests abgeschlossen und Aqua-Flame-Anlagen gingen "demnächst" (Stand: März 2011) in den Verkauf.

Eine funktionierende "kalte Fusion" konnte bislang noch nie nachgewiesen werden. Die Purratio AG behauptet außerdem, dass ihre Konstruktion mehr Energie abgebe, als ihr zugeführt wird. Solche Maschinen gelten als Perpetuum Mobile. Bis zum heutigen Tag ist kein funktionierendes Perpetuum Mobile bekannt geworden, obwohl viele Laien, Einzelforscher und Pseudowissenschaftler versucht haben, derartige Maschinen zu konstruieren. Ein Perpetuum Mobile ist mit den heutigen Kenntnissen der Physik unvereinbar, insbesondere mit dem Energieerhaltungssatz und dem Noether-Theorem. Auf dem Gebiet der "Perpetuum-Mobile-Forschung" und dem dazugehörigen Anlagemarkt tummeln sich diverse Betrüger.

Das behauptete Aqua-Flame-Prinzip

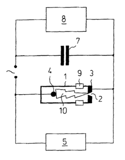
Schematische Darstellung von Aqua Flame.[2] 1: Brennkammer, 2: Austrittsdüse, 3: Anode, 4: Kathode, 5: Schaltnetzteil, 6: Funkenstrecke (vermutlich ist die Unterbrechung des Stromkreises links im Bild gemeint), 7: Kondensator 1 µF, 8: Hochspannungsnetzteil, 9: Isolator, 10: Plasmabogen

Im Prinzip wird zunächst Wasser (oder so gen. schweres Wasser D2O) aufgeheizt, so dass Wasserdampf entsteht. In einer Brennkammer wird in diesem Dampf eine Plasmaentladung erzeugt, wie sie ähnlich vom Elektroschweißen bekannt ist. Hierzu wird, wie schon zur Erhitzung des Wassers, elektrische Energie benötigt. Der Dampf soll "tangential" in die Brennkammer geleitet werden, um eine "drallstabilisierte Entladung" zu erzeugen. Wie bei Plasmaschweißgeräten findet die Entladung nicht nur zwischen den beiden Elektroden in der Brennkammer statt, sondern die Plasmaflamme tritt durch eine düsenförmige Öffnung in der Anode nach außen. In der Patentschrift ist ein Musteraufbau mit einem kommerziellen Plasmaschneidbrenner der kanadischen Firma Multiplaz beschrieben. Für die Plasmaentladung wird eine Sägezahnspannung von maximal 250 V mit einem Gleichspannungsanteil von 150 V genannt; die Stromstärke betrage rund 10 A.

Zusätzlich werden mit Hilfe von Hochspannungsentladungen kurze starke Stromimpulse von z.B. 60 A überlagert. Damit, so die Erfinder, "konnte eine wesentlich höhere Ausgangsleistung erzeugt werden, als für die Erzeugung erforderlich war." Durch die Stromimpulse ließen sich "viele Wasserstoffionenisotope (H+, D+, T+, ...) oder andere geeignete Ionen (Li+) erzeugen, die dann für den Fusionsprozess zur Verfügung stehen." Damit die Kernfusion stattfinden könne, soll die Kathode aus Palladium bestehen (auch bei den gescheiterten Fusionsversuchen von Fleischmann und Pons im Jahr 1989 wurden Palladiumelektroden benutzt, allerdings in einem Elektrolysebad). Die positiv geladenen Ionen bewegen sich zur Kathode und, so heißt es weiter, "diffundieren in das Gitter des Kathodenmaterials und bewirken den in der Literatur beschriebenen Kernfusionsprozess, bei dem Überschusswärme erzeugt wird." Diese zusätzlich erzeugte Energie könne an der austretenden Plasmaflamme abgenommen und technisch auf herkömmliche Weise verwertet werden.

Die abgegebene Wärmeleistung soll höher sein als die zugeführte elektrische Leistung, ohne dass es dabei zu herkömmlichen chemischen Reaktionen, etwa einer Verbrennung, komme. Purratio behauptet eine zusätzliche Wärmeabgabe von 500 W bei Verwendung von Leitungswasser und bis zu 900 W bei einer Mischung aus Wasser und 30% schwerem Wasser. Trotz der angeblichen Fusionstechnik werde jedoch "Umgebungssauerstoff" benötigt.

Wie bei anderen angeblich erfolgreichen kalten Fusionen soll es auch bei Aqua Flame zur Abgabe ionisierender Strahlung kommen, in diesem Falle trete eine Neutronenstrahlung auf. Nach Angaben von Purratio ergebe sich bei eingeschaltetem Gerät eine Dosisleistung von 3 Mikrosievert pro Stunde (zum Vergleich: üblicherweise kann in Deutschland auf Meereshöhe von etwa 0,06 bis 0,2 µSv/h ausgegangen werden).

Patent

Die Purratio AG hat ihre Erfindung im Jahr 2006 in mehreren Ländern sowie international zum Patent angemeldet.[2] In Australien und Spanien wurde 2010 ein Patent erteilt.[3][4] Erfinder Richard Reichmann hatte zuvor bereits ein Reinigungsmittel für Fußböden, ein Isoliermittel für Glasflächen wie Photovoltaik-Anlagen und eine Spargelschälmaschine zum Patent bzw. Gebrauchsmuster angemeldet.

Purratio AG

Vorstand und Geschäftsführer der Purratio AG ist Matthias Staiger, der 2007 Max Peter Kochlik ablöste. Vorsitzender des Aufsichtsrates ist der Miterfinder von Aqua Flame, Richard Reichmann. Neben Aqua Flame ist ein weiteres Produkt Signapur, eine spezielle Glasbeschichtung ("easy-to-clean"). Diese soll insbesondere Photovoltaik-Kollektoren zu einem höheren Wirkungsgrad verhelfen. Purratio behauptet Wirkungsgradverbesserungen bis zu 6%.

Weblinks

Quellennachweise

  1. Purrratio AG, Mörikestraße 30, D-73765 Neuhausen a. d. Fildern (WKN 539622)
  2. 2,0 2,1 2,2 WO 2007/28471 A3: VERFAHREN ZUR ERZEUGUNG VON WÄRMEENERGIE / METHOD FOR PRODUCING THERMAL ENERGY / PROCEDE DE PRODUCTION D'ENERGIE THERMIQUE. Anmeldedatum: 09.08.2006. Erfinder: Richard Reichmann, Karl-Ludwig Barth
  3. AU 2006289456 B2: Method for producing thermal energy. Patent erteilt: 02.09.2010
  4. EA 013479 B1: Method for producing thermal energy. Patent erteilt: 30.04.2010