Graviton
Graviton ist der Name einer Produktreihe zur Wasser- und Bodenaufbereitung. Es handelt es sich um Magnetspulen, die außen an Wasserleitungen angebracht werden. Durch die Spulen werden impulsartige Ströme unterschiedlicher Frequenz geschickt, die "energetische Qualität des Wassers" erhöht werde, was mit einer angeblichen "Speicherfunktion des Wassers für elektromagnetische Felder und deren Muster" zusammenhänge, so die pseudowissenschaftlichen Werbeaussagen. Angeboten wurden die Geräte von der 1995 gegründeten Graviton GmbH in Berlin. Mitte 2014 wurde das Unternehmen in SpoGeKu Consulting GmbH umbenannt.
Des Weiteren wurden von der Firma Graviton Djeds genannte Säulen angeboten, die nicht näher erklärte, biologisch günstige "Felder" erzeugen sollen und an Orgonakkumulatoren oder die Erfindungen des Chemikers Dietrich Schuster erinnern. Neben den Geräten waren "Bio Energie Mineralien" erhältlich, die z.B. als Dünger oder Futterzusatz eingesetzt werden sollen. Die Substanzen sollten mit Hilfe eines Djeds "aktiviert" worden sein und die von diesem Gerät erzeugten positiven Eigenschaften speichern. Dieses Konzept ähnelt dem der Firma Plocher.
Ähnliche Gebilde wie Graviton und Djed werden unter den Namen Prige, Power Jet und Turm der Kraft von der Mundus GmbH (siehe auch AquaElix und Naturschallwandler) und einem Ingenieurbüro Monderkamp sowie als Isis Erd-Beamer von der Firma Weber Bio Energie Systeme vertrieben.
Werbeaussagen
Einige Versprechungen der Firma Graviton[2] zu ihren Produkten waren:
- Kalkablagerungen werden verhindert.
- Die Geräte verringern die Anzahl der Keime im Wasser.
- Die Geräte können erwünschte und unerwünschte Bakterien unterscheiden: "Unterschiedliche Mikroorganismen werden nicht mit der gleichen Intensität gehemmt. Insbesondere werden so genannte Fäulniserreger stärker gehemmt als Mikroorganismen, die zu einem mineralisierenden Abbau von organischen Verbindungen führen. Damit wird die Mikroflora, die bei Gewässern zur Selbstreinigung beiträgt, schwächer gehemmt."
- "Mit G 55 behandeltes Trinkwasser stärkt das Immunsystem der Tiere. Dies macht sich in der Senkung von Tierausfällen und Tierarztkosten bemerkbar."
- "Eine gleiche Wirkung haben wir im Bereich des Pflanzenbaus zu verzeichnen. Hier ergeben sich Einsparungen von Kunstdüngern bis zu 50%. Auf chemische Pflanzenschutzmittel kann fast vollständig verzichtet werden. Wie Anwendererfahrungen zeigen, steigen aber gleichzeitig Qualität und Quantität der Erträge."
- "Untersuchungen von Beton haben gezeigt, dass sich nur durch die energetische Wasserbehandlung die Festigkeit um derzeit bis zu 15% steigern lässt."
Aufbau
Die Geräte der Reihe Graviton G bestehen aus zwei Spulen, welche die Wasserleitung in geringem Abstand umschließen. Beide Spulen werden offenbar mit dem gleichen Signal angesteuert.[1] Dieses soll aus schmalen Impulsen mit einer Frequenz von typisch 6 kHz und einer Breite von 50 bis 100 ns bestehen. Zusätzlich können zwei Sinussignale im Frequenzbereich 4 bis 8 kHz mit einem Abstand von z.B. 50 oder 100 Hz eingespeist werden. Diese Schwebung von 50 oder 100 Hz soll mikrobiologisch besonders wirksam sein. Außer den Frequenzen werden genaue Leistungen genannt, z.B. 40 Watt. Diese Angaben sind aber wenig sinnvoll und erlauben keine Rückschlüsse z.B. auf die Stärke des Magnetfeldes, da über den Aufbau der Spulen nichts mitgeteilt wird und auch nicht darüber, ob hier überhaupt die elektrische Eingangsleistung der Spulen gemeint ist oder irgendetwas anderes. Fraglich ist auch der Einfluss der Spulen und des in der Patentschrift genannten "Hifi-Verstärkers" auf die 100-Nanosekunden-Impulse. Um solche schmalen Impulse getreu in ein Magnetfeld umzusetzen, sind Bandbreiten von über 10 MHz erforderlich sowie Spulen mit sehr niedriger Induktivität, die andererseits für die Ansteuerung mit den niederfrequenten Sinussignalen wenig zweckmäßig wären. Es ist von einer "üblichen Spulenanordnung" die Rede, jedoch könnten auch "Skalarwellenspulen" eingesetzt werden.
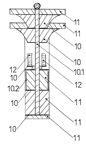
Die esoterischen Djeds oder "Stoffschichten-Akkumulatoren" enthalten keine elektrischen Bestandteile, sollen aber auf Mikroorganismen in ganz ähnlicher Weise einwirken. Zur Komponente "beliebiger Stoff" (siehe Zeichnung rechts) wird mitgeteilt, dass es sich dabei zum Beispiel um "Wasserstoffperoxid, Sauerstoff, Kohlendioxid, Elektrolyte, Spurenelemente, Enzyme, Vitamine bzw. weitere sogenannte Vitalstoffe" handeln könne.
Erklärungen zum mikrobiologischen Wirkmechanismus der Geräte werden nicht gegeben. Um den beabsichtigten Effekt auf Mikroorganismen zu erreichen, sei je nach Situation eine Einwirkdauer von einigen Minuten bis zu einigen Tagen erforderlich.
Quellennachweise
- ↑ 1,0 1,1 DE 100 34 750 A1: Verfahren und Vorrichtung zur computergesteuerten elektromagnetischen Beeinflussung der Kinetik von organischen und anorganischen Prozessen in Flüssigkeiten. Anmeldetag 18. Juli 2000 (Verfahren erloschen)
- ↑ Internetseite der Firma Graviton, Aufruf am 15. Mai 2009


