HEDD1

Aus Psiram
Zur Navigation springen Zur Suche springen
HEDD1
Sniffex

HEDD1 (baugleich mit Sniffex) ist der Name eines Scharlatanerie-Produkts der Bonner Firma Unival Group GmbH[1], das geeignet sein soll, als handliches Gerät Sprengstoffe aller Art aus der Ferne zu erkennen.

HEDD1 und Sniffex

Das Kürzel HEDD steht für "Handheld Explosive Detection Device" und ist eine eingetragene Wortmarke der Hazard Detection Group GmbH aus Bonn, die zur Unival Group GmbH gehört. Laut Unival sei das Gerät patentiert und könne Sprengstoffe aus bis zu 100 Metern Entfernung erkennen:

"HEDD®1 ist das einzige am Markt befindliche Sprengstoffdetektions-Gerät, welches eine Echtzeitdetektion von Sprengstoffen und Waffen sowie Munition aus Entfernungen bis zu 100 Metern erlaubt."[2]

Zum Funktionsprinzip wird unpräzise auf eine "patented Magneto-Electrostatic Detection (MED) method" verwiesen. Demnach bilde das HEDD1 mit seiner simplen und nur wenige Euro teuren Telekoskopantenne ein "moduliertes Magnetfeld", das die behauptete Erkennung sämtlicher fester und flüssiger Sprengstoffe wie Dynamit, TNT, Ammonit, C4, Semtex, PETN, RDX, TATP oder Schießpulver selbst durch meterstarken Beton oder Stahl hindurch ermögliche.[3] Abgesehen von der Teleskopantenne besteht das Gerät offenbar nur aus einigen Magneten und einer Knopfzellenbatterie, die mindestens drei Jahre halten soll. Wozu die Batterie dient, ist unbekannt, da das Gerät augenscheinlich keine elektronischen Schaltkreise enthält.

Das HEDD1 ist bis auf die Batterie nahezu baugleich mit einem Gerät namens Sniffex[4], das in Bulgarien gefertigt wird. SNIFFEX wurde von der US-Navy in einem Test als wirkungslos und "Bomb Sniffing Scam" bewertet.[5][6][7] Selbst als mit einer halben Tonne Sprengstoff beladene Militär-LKW in etwa 5 Metern Entfernung an dem Gerät vorbeifuhren, wurde kein Alarm ausgelöst. In der amerikanischen Presse wurde Sniffex daraufhin mit einer Wünschelrute verglichen.

Sniffex wurde unter anderem von einer Firma Homeland Safety International beworben. Die Firma Unival bietet eine neue Version unter der Bezeichnung SNIFFEX PLUS an.

Patent

Erfinder Yuri Markov
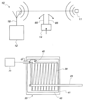
Zeichnungen aus US-Patent 6,344,818. Oben: Grundprinzip mit "target material" (11), Quellenmodul (12) und Detektormodul (14). Unten: Detektormodul mit Antenne (23), Spule (39) und Modulator (71)

Zur Funktion von HEDD1 und Sniffex verweist Unival auf das US-Patent 6,344,818 "Apparatus and method for the detection of materials" des Bulgaren Yuri Markov.[8][9] Demnach bestehe das Gerät aus einem Signalquellenmodul und einem Detektormodul, Das Quellenmodul sende ein Signal mit einer Frequenz zwischen 100 MHz und 1500 MHz aus und müsse auf die "charakteristische Frequenz" des zu detektierenden Materials eingestellt werden. Dieses beginne dann seinerseits, nach 3 bis 5 Sekunden ein Signal mit dieser Frequenz auszusenden. Polyethylen z.B. habe eine Frequenz von 438,54045 MHz. Durch eine Art Peilung mit dem Handgerät könne der Benutzer dann eine "Interferenzlinie" ausfindig machen. Die Empfangsantenne führe dabei eine deutliche Rotationsbewegung aus. Wichtig sei, dass die Teleskopantenne des Detektormoduls mit einer Spule verbunden ist, die 4.000 bis 5.000 Windungen aus 0,05 mm dickem Draht haben soll. Die Antenne rotiere nach Vermutung des Erfinders deshalb, weil das Magnetfeld dieser Spule mit dem Erdmagnetfeld "wechselwirke". Eine Verbesserung sei dadurch möglich, dass an die Empfangsantenne bzw. an die Spule ein "Modulator" angeschlossen wird, der ebenfalls auf eine materialspezifische Frequenz eingestellt werden muss. Für Polyethylen z.B. betrage diese Frequenz 184,1 Hz.

Die Erklärungen und Zeichnungen des Patents geben aus physikalisch-technischer Sicht keinerlei Sinn. Davon abgesehen enthalten die im Handel befindlichen Geräte dem Werbematerial der Firma Unival zufolge überhaupt keine elektronischen Komponenten wie Hochfrequenzgeneratoren usw.

Unival

Die Firma Unival bietet neben dem HEDD1 auch herkömmliche Nachtsichtgeräte, abhörsichere Kommunikationssysteme und Geräte zum Stören des Mobilfunk-Empfangs (Digital Wideband Jamming Systems) an. Trotz des Angebotes von erwiesenen Scharlatanerieprodukten beruft sich die Unival auf hauseigene Experten, die laut Firmenangaben vom BKA sowie "Diensten" und "DAX30-Firmen" stammen sollen. Genannt werden zum Beispiel ein Peter Resch, der jahrelang für das BKA im Bereich Terrorismusbekämpfung tätig gewesen sein soll[10], der "DAX30"-Lauschabwehrer Hannes Katzschmann[11] sowie ein Reinhard Landmann, der im Bereich des "unmittelbaren Personenschutzes für besonders gefährdete, hochrangige Staatsgäste der Bundesrepublik Deutschland" tätig gewesen sein soll.[12]

Prozess

Wie im Februar 2015 bekannt wurde, ermittelt die Staatsanwaltschaft Bonn gegen den Geschäftsführer der Unival Group in 47 Fällen wegen gewerbsmäßigen Betruges. Die deutschen Behörden wurden auf Unival durch britische Behörden aufmerksam, die sich aufgrund eines Gutachtens eines Experten der Universität Cambridge, in dem die Unwirksamkeit des Gerätes nachgewiesen wurde, auch an die deutschen Behörden wandten. In Deutschland sind weitere Gutachten in Auftrag gegeben worden, einmal von Experten des Bundeskriminalamtes und überdies vom Bundesamt für Materialforschung- und Prüfung. Beide Male sei das Ergebnis gleich ausgefallen: funktionslos.[13]

Ähnliche Produkte

  • ADE 651, ADE650
  • Alpha 6. Der Hersteller dieses 15000 britische Pfund teuren Gerätes hat laut BBC eingeräumt, dass die Herstellung nur 11 Pfund kostet.[14]
  • GT200. Nach Angaben einesArtikels in der Washington Times sei dieses Gerät eine "leere Plastikschachtel". Das thailändische Militär hatte davon ab 2006 rund 1500 Stück gekauft, zum Gesamtpreis von 30 Millionen US$.[15][16]
  • Quadro Tracker
  • Covid-19 detector
  • Complete Cure Device

Weblinks

Quellennachweise

  1. unival group GmbH, Am Hofgarten 4, D-53113 Bonn. Managing Director: David Vollmar. www.unival-group.com
  2. http://www.uniguard.co/HEDD1_spreng_und_gefahrenstoffortung.html
  3. Zitat Werbung: "HEDD®1 forms a modulated Magnetic Field (MMF) that allows detection of all types of commercial and military explosives (TNT, Dynamite, Ammonite & Diesel, PETN, RDX, Gunpowder, Semtex, C4 etc.) including liquid explosives (TATP etc.) within a distance between 2-100 meters behind and through all types of barriers (including concrete, steel etc.)"
  4. Sniffex in der englischsprachigen Wikipedia
  5. http://blog.wired.com/defense/2008/07/bomb-sniffing-s.html
  6. http://www.docstoc.com/docs/23365128/Test-Report-The-Detection-Capability-of-the-Sniffex-Handheld-Explosives-Detector
  7. http://s3.amazonaws.com/propublica/assets/docs/NavyReport.pdf
  8. US Patent 6,344,818 B1: Apparatus and method for the detection of materials. Inventor: Yuri Markov, Sofia, Bulgaria. Filed: May 17, 1999. Date of Patent: Feb 5, 2002
  9. EP 911650 B1: Gerät und Verfahren zur Detektion von Materialen (Apparatus and method for the detection of materials). Anmelder/Erfinder: Yuri Markov, Sofia, Bulgarien. Anmeldedatum: 22.05.1998. Patent erteilt: 15.09.2003
  10. Zitat Unival: Peter Resch war während seiner gesamten Dienstzeit für das Bundeskriminalamt in Wiesbaden, Bonn und Meckenheim tätg. Besonders geprägt waren seine Einsatzjahre in der Bekämpfung des nationalen und internationalen Terrorismus als Ermittler, in der Observation, in operativen Dienstgruppen und Sonderkommissionen im In- und Ausland. Es folgten weitere Dienstjahre in den Bereichen Spionageabwehr und der Sabotagebekämpfung. Insbesondere taktisch/ operativ verdeckte Ermiettlungen gegen Ak@vitäten radikaler autonomer Gruppierungen, deren Ziele es waren, die Bundesrepublik Deutschland und die deutsche Wirtschagt zu schädigen. Er ist einer der Mitbegründer des „Erweiterten Personenschutzes“ auch Aufklärung im PS genannt und für seine sensible praxisnahe Ausbildung bekannt. Dieses Personenschutzprogramm ist bis heute international effektiv.
  11. Zitat: Dipl. Ing. (FH) Hannes Katzschmann ist seit mehr als 30 Jahren ausschließlich in der technischen Lauschabwehr tätig
  12. http://www.uniguard.co/uniguard_signatureprotection_2012.pdf
  13. General-Anzeiger: Prozess wegen Betruges Bonner soll weltweit nutzlose Geräte verkauft haben 02. Februar 2015
  14. UK government promoted useless 'bomb detectors' BBC newsinsight, 27 January 2011
  15. Thai security forces spend $30 million on fake ‘bomb detectors’ The Washington Times, July 30, 2012
  16. Carsten Volkery: Nutzloser Bombendetektor: Britische Regierung half Betrüger bei Export von Schrott-Gerät. Spiegel Online, 27. Januar 2014