Blutelektrifizierung
Als Blutelektrifizierung wird in der Alternativmedizin eine pseudomedizinische Methode bezeichnet, bei der zu vermeintlichen Heilzwecken menschliches Blut innerhalb oder außerhalb des Körpers auf unterschiedliche Weise "elektrifiziert" wird. Der alternativmedizinische Begriff "Blutelektrifizierung" bezeichnet dabei verschiedene "Elektrifizierungs"-Methoden, die alle eine desinfizierende Wirkung haben sollen. Durch das Einwirken elektrischer Wechselströme sollen Bakterien oder Viren selektiv geschädigt werden ohne dabei körpereigenes Gewebe zu beeinträchtigen.
Der Begriff der Blutelektrifizierung ist in der wissenschaftlichen Medizin unbekannt. In der deutschsprachigen Wikipedia findet sich kein Artikel dazu, vielmehr wurde in der Vergangenheit zweimal ein entsprechender Artikelentwurf gelöscht (SLA).[1] Auch in der englischsprachigen Wikipedia wurde der Artikel "Blood Electrification" gelöscht.
Methoden
Zapper
Bei den so genannten Zappern handelt es sich um einfach aufgebaute Geräte, die durch das Anlegen einer elektrischen Wechselspannung an die Haut Krankheitserreger im Körper schädigen sollen. Obwohl die stromführenden Elektroden gar nicht mit Blut in Kontakt kommen, behaupten die Befürworter, dass man so positive Effekte in den darunterliegenden Blutgefäßen erzielen könne. Besonders die Zapper-Variante des US-amerikanischen Physikers und Privatforschers Robert Beck sei zur "Blutreinigung" geeignet und wird manchmal auch "Blutzapper" genannt. Der Beck-Zapper soll mit einer relativ niedrigen Frequenz von 3,92 Hz arbeiten. Diese "halbe Schumann-Frequenz" stehe "in Harmonie mit körpereigenen Rhythmen". Dies ist allerdings in keiner Weise geeignet, die behaupteten Effekte auf die Blutflüssigkeit zu erklären, zumal auch andere Anbieter von Zappern ähnliches behaupten, allerdings verschiedenste, ganz andere Frequenzen nennen. Äußerungen des Medizinlaien Beck lassen erkennen, dass ihm die Patente von Kaali und anderen (siehe nächster Abschnitt) bekannt waren.
Methoden nach William Lyman und Steven Kaali
Als "Blutelektrifizierung" werden in alternativmedizinischen Kreisen auch Methoden der extrakorporalen oder in Blutgefäßen durchzuführenden elektrischen Desinfektion nach William Lyman und Steven Kaali bezeichnet. Kaali und Lyman benutzten diesen Begriff einer "Blood Electrification" nicht. Steven G. Kaali ist ein Gynäkologe am New Yorker Albert Einstein College of Medicine[4], auf den mehrere Patente zurückgehen. Weitere Patente von Kaali beziehen sich auf elektrisch betriebene Vorrichtungen zur Empfängnisverhütung.[5][6]
Von Kaali liegt in Datenbanken eine einzige veröffentlichte Arbeit von 1996 zu seiner Erfindung einer extrakorporalen Desinfektion vor,[7] die jedoch offenbar nie zitiert wurde. Veröffentlichte Studienergebnisse oder von unabhängiger Stelle veröffentlichte Beurteilungen sind nicht auffindbar. Selbst bei Google Scholar finden sich nur einige wenige Hinweise zu alternativmedizinischer Literatur über Kaali. Zu keinem seiner Patente zur elektrischen Desinfektion ist eine praktische Umsetzung bekannt, die Patente sind inzwischen abgelaufen. Es sind Verschwörungstheorien im Umlauf, nach denen drei große ungenannte Pharmaunternehmen die Umsetzung behindern würden. Behauptet wird dies beispielsweise in dem an Laien gerichtenen medizinkritischen Buch "Das Kaali-Patent! Sieg über Krebs und Aids" von Sigmund C. Arnim und Carl H. Hammerstein.
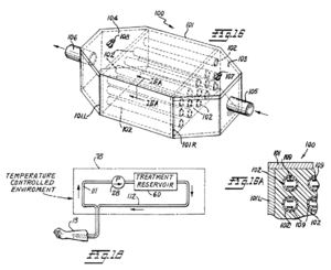
Bei mehreren der patentierten Methoden[8][9] wird Blut am Arm abgenommen, durchfließt (analog zur Dialyse) in einem geschlossenen Kreislauf eine Kammer, in der es einem elektrischen Wechselfeld ausgesetzt ist und durch 200 nm große Poren gefiltert wird. Danach wird es dem Körper wieder zugeführt. In der Kammer wird der Blutfluss auf mehrere parallele Röhren aufgeteilt, in denen sich in einigen Millimetern Abstand Elektroden bzw. Kondensatorplatten befinden. Zwischen den Platten liegt eine Wechselspannung von "0,2 bis 12 Volt"; über die Frequenz werden keine Angaben gemacht. Die Ströme sollen im Bereich von 50 bis 100 µA liegen. Ein anderes Patent von Kaali[3] beschreibt neben solchen Anordnungen die Implantation einer Vorrichtung, die in den Verlauf einer großen Vene (beispielsweise am Arm) geschaltet wird und dort den gleichen Zweck erfüllen soll.
Kaali und Lyman behaupten, dass damit sämtliche Bakterien und Viren, einschließlich HIV, sowie Pilze und andere Parasiten unschädlich gemacht werden können, zumindest soweit, dass eine "normal gesunde menschliche Zelle" nicht befallen werde. Das Blut werde durch die Behandlung nicht nachteilig verändert. Das System hat im Gegensatz zu den wesentlich einfacher anzuwendenden Zappern, für die ähnliche Wunderwirkungen versprochen werden, keine Verbreitung gefunden. Die Kaali-Patente zur intra- oder extrakorporalen Desinfektion durch schwache Wechselströme stoßen auf praktische Probleme: länger andauernde Dialysen haben gefährliche Nebenwirkungen wie z.B. eine verstärkte Blutgerinnung zur Folge. Bei Dauerimplantaten besteht ein Risiko einer immunologischen Abstoßungsreaktion und eine erhöhte Infektionsgefahr. Zudem sind sie nur unter hohen Kosten anwendbar. Beide Verfahren hätten erst dann eine Berechtigung, wenn erwiesen wäre, dass ihre Anwendung in der Nutzen-Risiko-Abwägung einen deutlich überwiegenden Nutzen im Falle schwerer Krankheiten aufzeigte. Dies ist bis heute nicht erwiesen.
Erteilte Patente sind kein Beweis für eine Wirksamkeit oder für ein Funktionieren im Sinne der Patentbehauptung. Patente sollen lediglich intellektuelle Leistungen rechtlich für eine bestimmte Zeit schützen. Siehe dazu auch den Abschnitt Patente und Marken im Artikel Merkmale technisch wirkungsloser Produkte.
Literatur
- Lyman WD, Merkatz IR, Kaali SG. "Biocompatible electric current attenuates HIV infectivity", Surg Technol Int. 1996;5:75-9 Webseite, die den Artikel wiedergibt
Quellennachweise
- ↑ http://de.wikipedia.org/wiki/Wikipedia:L%C3%B6schkandidaten/10._Oktober_2006#Blutelektrifikation_.28zum_zweiten_Mal_nach_SLA_gel.C3.B6scht.29
- ↑ Sigmund C Arnim, Carl H Hammerstein: Das Kaali-Patent! Sieg über Krebs und Aids. Indigo Buchverlag 2007. PDF-Version
- ↑ 3,0 3,1 3,2 US Patent 5188738: Alternating current supplied electrically conductive method and system for treatment of blood and/or other body fluids and/or synthetic fluids with electric forces. Inventors: Steven Kaali, Peter M. Schwolsky. Filed: Nov 16, 1990. Date of Patent: Feb 23, 1993
- ↑ http://www.einstein.yu.edu/faculty/5296/steven-kaali/
- ↑ US Patent 4616640: Birth control method and device employing electric forces. Date of Patent: Oct 14, 1986
- ↑ US Patent 4932421: Electrified intrauterine device. Date of Patent: June 12, 1990
- ↑ Lyman WD, Merkatz IR, Kaali SG. "Biocompatible electric current attenuates HIV infectivity", Surg Technol Int. 1996;5:75-9.
- ↑ US Patent 5139684: Electrically conductive methods and systems for treatment of blood and other body fluids and/or synthetic fluids with electric forces. Inventors: Steven Kaali, Peter M. Schwolsky. Filed: Nov 16, 1990. Date of Patent: Aug 18, 1992
- ↑ US-Patent 5185086: Method and system for treatment of blood and/or other body fluids and/or synthetic fluids using combined filter elements and electric field forces. Inventors: Steven Kaali, Peter M. Schwolsky. Filed Jul 16, 1991. Date of Patent: Feb 9, 1993. "A method and system for the treatment of blood and/or other body fluids (such as amniotic fluids) as well as synthetic fluids such as tissue culture medium whereby a fluid to be treated is mechanically filtered for elimination of particles contained therein which exceed 0.2 microns in size (or some other minutely small size) and in addition subjecting the fluid being treated to electric field forces in the microwatt/milliwatt region induced by relatively low voltage of a few volts and low current density which does not exceed values which could impair the biological usefulness and characteristics of the blood or other fluid being treated."
