Rayonex
Die Rayonex Biomedical GmbH (vormals: Rayonex Schwingungstechnik GmbH) in Lennestadt im Sauerland ist ein Hersteller von Geräten für die medizinisch unsinnige Bioresonanz-Therapie und von anderen Produkten zwischen Pseudomedizin und Esoterik sowie Betreiber der Paul-Schmidt-Akademie. Diese Einrichtung ist nach dem Ingenieur Paul Schmidt (1922 – 1994) benannt, der die Firma Rayonex 1982 gründete. 2012 wurde die Zahl der Mitarbeiter bei Rayonex mit über 50 angegeben.
Produkte
Die Erzeugnisse von Rayonex drehen sich vor allem um die Bioresonanz nach Paul Schmidt, die laut Rayonex von rund 4.500 Ärzten und Heilpraktikern in Deutschland angewendet werde. Sie werden mit pseudowissenschaftlichen Aussagen einer abstrusen Privatphysik beworben; Begriffe wie Frequenz, Resonator, Interferenz, Überschwingen, Detektor oder Polarisation werden in eigenwilliger Weise benutzt, die wenig oder nichts mit den üblichen Bedeutungen in Naturwissenschaften und Technik gemein hat.
Die esoterischen Vorstellungen der Bioresonanz nach Schmidt sind mit denen anderer Bioresonanz-Anbieter nur begrenzt kompatibel und orientieren sich eher an der Radionik. Während bei der Bioresonanz normalerweise von elektrischen Schwingungssignalen ausgegangen wird, die vom Körper angeblich abgegeben und durch das Bioresonanzgerät "invertiert" oder anderweitig modizifiert dem Körper wieder zurückgegeben werden (was ebenfalls ein unsinniges Konzept ist), wird bei der Variante nach Schmidt offen gelassen, welche Art von Schwingung gemeint ist. An verschiedenen Stellen wird ausdrücklich gesagt, dass es sich nicht um elektromagnetische oder mechanische Schwingungen und Strahlungen handelt, sondern um "Schwingungen im Bereich der Bioenergien", die zwar mit der herkömmlichen Physik nicht erfasst werden könnten, sich aber mit den von Paul Schmidt erfundenen Apparaten dennoch für therapeutische Zwecke nutzen ließen.[1]
Rayonex-Geräte finden auch Verwendung bei der Firma Internationale Gesellschaft für Elektrosmog-Forschung Ltd., die Gutachten zu Elektrosmog-Schutzgeräten anbietet.
Zu einigen Rayonex-Produkten existieren Patenanmeldungen und Gebrauchsmuster. Bioresonanz Paul Schmidt ist außerdem eine eingetragene Wortmarke.[2] Das Lieferprogramm umfasst:
Bioresonanz-Geräte
Bei den Geräten (Handelsname: Rayocomp, früher Rayometer) ist vor allem das Zubehör auffällig. Die bei der Bioresonanztherapie benutzten Elektroden, die bei Rayonex Detektoren heißen, gibt es nicht nur in der üblichen Form aus Metall, die der Patient z.B. in der Hand hält, sondern auch als textile Bänder, Kissen, Handschuhe, Kopfhauben, Pferdedecken usw., in die metallische Fäden eingewoben sind.[3] Es sind verschiedene Software-Module erhältlich, beispielsweise das Modul Akutprogramme nach Manfred Denecke, das aus über 80 Einzelprogrammen zur "Bakterien-Abwehr", zur "Viren-Abwehr" und zu anderen Zwecken besteht und zur "unmittelbaren Therapie" zahlreicher Infektionen und Verletzungen eingesetzt werden könne.
Besondere Behälter sollen das "Testen" und "Energetisieren" von Substanzen ermöglichen, z.B. könne damit eine Prozedur durchgeführt werden, die sich "Überschwingen von Eigenurin" nennt. Die Methode ist offenbar vom sogenannten Resonanztest der Elektroakupunktur nach Voll abgeleitet und wird auch von anderen Herstellern angeboten (siehe z.B. Wave Transfer). Ein "Schutzbecher" soll verhindern, dass "die Schwingungsmuster des angeschlossenen Patienten oder die des Bioresonanzgerätes an die Substanzen gelangen und diese mit fremden Schwingungsmustern verunreinigen".
Eine Erfindung dazu, Filter genannt,[4] könne "die Übertragungsrichtung biophysikalischer Schwingungen" festlegen und deshalb auch davor schützen, dass "schädliche Schwingungen vom Patienten auf den Therapeuten" übergehen. Sie besteht aus einer Metallhülse, die an beiden Enden eine Buchse für einen einpoligen Stecker (Laborstecker, Bananenstecker) hat. Die leitende Verbindung zwischen den beiden Enden ist durch Isoliermaterial unterbrochen, der behauptete Effekt soll auf geheimnisvolle Weise durch einen Hohlraum in der Hülse mit teils polierten, teils aufgerauten Flächen entstehen. Technisch gesehen handelt es sich schlicht um einen Kondensator mit einer Kapazität von einigen 10 pF; eine irgendwie geartete Richtwirkung entspringt der Fantasie der Erfinder. Das Einschleifen einer so kleinen Kapazität in eine Leitung verändert die elektrischen Eigenschaften der Anordnung dennoch erheblich. Die Vorstellung, dass das keinen Einfluss auf die Funktion habe, abgesehen von der behaupteten Richtwirkung, mutet sonderbar an. Unterschiedlich raue Flächen sollen auch beim Schutzbecher eine Rolle spielen. Allerdings besteht hier keine galvanische Trennung wie beim "Filter", sondern der Anschluss ist leitend mit dem metallenen Behälter verbunden.
Aus elektrotechnischer Sicht gleichermaßen dubios ist der Polarisator (ebenfalls eine eingetragene Marke der Rayonex GmbH[6]), ein Kästchen, das mit der Zuleitung einer der Bioresonanz-Elektroden verbunden wird. Im Inneren wird die Leitung in einer ringförmigen Schleife geführt und ist mit einem weiteren Draht umwickelt, durch den ein schwacher Gleichstrom von unter 1 µA fließt.[5] Der Begriff "Polarisation" bezeichnet z.B. bei elektromagnetischen Wellen die Schwingungsebene des elektrischen Feldes. Bei einem drahtgeführten Signal ergibt er keinen Sinn. Nach Aussage von Rayonex bedeutet Polarisation im Zusammenhang mit der Bioresonanz nach Schmidt allerdings auch etwas ganz anderes, nämlich "die Rotation der feinstofflichen Schwingungen, die eine wesentlich stärkere regulative Kraft besitzen als unpolare Schwingungen."
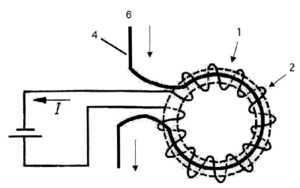
Eine wichtige Rolle in Schmidts Gedankengebäude spielt der Rayonator, eine Dose aus Kunststoff, die in bestimmten Standardfällen eine Bioresonanzbehandlung ohne das übliche Bioresonanzgerät ermöglichen soll. Dazu wird mitgeteilt: "Eine der erfolgreichsten Methoden innerhalb der Bioresonanz nach Paul Schmidt ist die Bereichswerttestung. Hier wird das individuell notwendige Resonanzspektrum ausgetestet und anschließend harmonisiert. Bei der Austestung fallen immer wieder sehr hartnäckig zu harmonisierende Interferenzen auf, die in einem Rayonator fest eingestellt werden können und somit für eine Harmonisierung direkt und schnell verfügbar sind." Neben einem Rayonator, der auf "Frequenzen" nach Kundenwunsch eingestellt wird, gibt es einen "Allergen-Transfer-Rayonator" und einen "Chakra-Rayonator" mit werksseitig vorgegebenen Frequenzen. Im Innern der Rayonatoren befinden sich einer Patentschrift[1] zufolge ein oder mehrere Gebilde aus "parallel angeordneten Leiterstäben, bei dem die Resonanzfrequenz durch gegenseitiges Schränken zweier Isolierbrücken und damit der Leiterstäbe einstellbar ist" (siehe Bild rechts). Der Rayonator ist kein elektromagnetischer oder mechanischer Resonator, sondern soll auf die oben erwähnten "Schwingungen im Bereich der Bioenergien" wirken.
Tensoren
Der in verschiedenen Ausführungen erhältliche Rayotensor ist eine Einhand-Wünschelrute für "radiästhetische Messungen". Faktisch handelt es sich um einen 20-30 cm langen Stahldraht mit Holzgriff.
"Biofeld-formende Geräte"
Die Produkte Elo-Rayex, TV-Rayex und Mini-Rayonex sind Kunststoffblöcke, die "Resonatoren" enthalten sollen, ähnlich wie die oben beschriebenen Rayonatoren. Sie zielen offenbar auf einen ähnlichen Markt ab wie die Scharlatanerie-Produkte Neutralizer, Gabriel-Chip usw. Das Modell TV-Rayex beispielsweise soll ein "Defizit auf der Interferenz 99.50" beheben, das durch Fernsehgeräte und Computermonitore verursacht werde. Allgemein gegen sogenannten Elektrosmog soll der Elo-Rayex besser geeignet sein, da er gleich auf mehreren "Resonanzstellen" wirke (Zitat aus der Werbung: "die Analyse eines elektrischen sowie magnetischen Feldes mittels der Bioresonanz nach Paul Schmidt ergibt als Resultat sechs Frequenzgrundwerte: 22.5; 40.0; 77.5; 78.5; 89.5 und 99.5"). Eine positive Wirkung auf den Organismus könne mittels Elektroakupunktur nach Voll, Kinesiologie oder des Bluttests nach Aschoff nachgewiesen werden.
Belastungen durch Wasseradern usw. könne man mit dem Mini-Rayonex und dem Frequenzwert 12.5 begegnen. Dessen Wirkung soll mehrere Meter weit reichen und am besten sein, wenn er "alle paar Tage für ca. 20 Sekunden unter fließendes Wasser gehalten wird". Angeblich wurde der Mini-Rayonex (Preis: 48 Euro) bereits über 100.000-mal verkauft. Für einen ähnlichen Zweck gibt es den Biofeldformer Duplex (früher auch Joskitron), ein Gebilde aus Edelstahl- oder Kupferblech, das möglichst im Keller des Hauses aufgestellt werden soll und ebenfalls ein nicht näher beschriebenes "Resonanzsystem" enthalte. Die neueste Ausführung sei in Zusammenarbeit mit Martin Günter entstanden, der bei Esoterik-Produkten mitunter als Referenz genannt wird.
Thyreogym
Dieses Gerät soll mit einem magnetischen Wechselfeld die Produktion der Schilddrüsenhormone T3 und T4 anregen und dadurch eine Gewichtsreduktion bewirken. Es ist also den pulsierenden Magnetfeldtherapien (PEMF) zuzurechnen, siehe Abschnitt Thyreogym im Artikel PEMF. Vermarktet wird es von der Thyreogym GmbH, einer Tochterfirma von Rayonex.
Geräte zur "Wasserenergetisierung"
Der Rayo-Aqua Wasseraktivator besteht aus einem Edelstahlrohr mit nicht erklärter Funktion, das je nach Modell entweder in die Wasserleitung eingebaut oder senkrecht aufgestellt wird, wobei oben eingefülltes Leitungswasser unten "aufgewertet" herauskommen soll. Wie in der Branche üblich beruft sich Rayonex auf Masaru Emoto und die angebliche Fähigkeit von Wasser, Informationen zu speichern.
Vitalstoffe
Hierbei handelt es sich um Präparate, die zur Regulierung des Säure-Basen-Haushalts dienen sollen. Der Rayonex-Werbung zufolge nähme bei Nahrungsmitteln "der Gehalt an belastenden Säuren stetig zu" (siehe auch: Übersäuerung). Es werden drei Präparate namens Rayobase, Rayovita und Rayoflora zum Einnehmen und der Badezusatz Rayosole verkauft. Die Substanzen sollen auf der Grundlage von Schmidts Bioresonanztherapie entwickelt worden sein. Bezug genommen wird auch auf das Konzept der Entschlackung.
Paul-Schmidt-Akademie
Diese Einrichtung bietet Schulungen von Vertriebspartnern in der Bioresonanz nach Paul Schmidt und der Anwendung von anderen Rayonex-Erzeugnissen an. Ferner gibt es Ausbildungskurse zum Baubiologen, eine Heilpraktiker-Schule, bei der man auch Online-Fernkurse absolvieren kann, sowie eine Heilpraktiker-Praxis, Therapiezentrum genannt, in der hauptsächlich Bioresonanz-Behandlungen vorgenommen werden sollen, mit der Möglichkeit, bis zu elf Patienten gleichzeitig zu versorgen.
Fraunhofer-Institut FEP Dresden
2011 bescheinigte das Dresdner Fraunhofer-Institut für Organische Elektronik, Elektronenstrahl- und Plasmatechnik FEP Dresden[7] mehreren Rayonex-Geräten (Rayocomp PS 1000, Rayocomp PS 10, Thyreogym) eine Fähigkeit, bestimmte geschädigte Körperzellen positiv zu beeinflussen.[8] Untersucht wurden dabei Fibroblasten. Das Ergebnis wird im Abschlussbericht folgendermaßen zusammengefasst:
- "Alle Rayonex Gerätesysteme erhöhen mit ihrer harmonisierenden Schwingung die Stoffwechselaktivität von Fibroblasten auf bis zu 8%... Ausgesprochen interessant sind die Resultate zur Reparatur der Keratinozyten. Geschädigte Zellen zeigen signifikant hohe Aktivitäten in der Zellteilungsphase. Dies trifft insbesondere auf das Thyreogym mit bis zu 22 % Steigerung zu als auch für das PS 1000 mit sogar über 40 % Steigerung."
Nach Rayonex-Angaben sei man von Seiten des Fraunhofer-Instituts auf Rayonex zugegangen. Rayonex nennt in diesem Zusammenhang einen Prof. Dr. med. habil. E. W. J. Mikus und Dr. Ing. habil. Christiane Wetzel.[9] Der genannte Professor Eberhard Mikus aus Bad Sachsa ist jedoch nicht für das Fraunhofer-Institut tätig, sondern arbeitet für die Firma Physiomed Elektromedizin AG in Schnaittach. Mikus, der auch als "selbstständiger Lehrstuhlleiter" dargestellt wird[10], soll seinen Professorentitel einer "Russischen Akademie für medizinische und soziale Rehabilitation" in Moskau verdanken, eine Lehrtätigkeit ist für Mikus im Jahre 2014 nicht eruierbar. Sein Name taucht im Internet im Zusammenhang mit der Hivamat-Methode und einem "BodyDrain"-Gerät auf. Eine finanzielle Förderung erhielt die Studie von einer "Vereinigung zur Förderung der Schwingungsmedizin".
Christiane Wetzel wiederum war 2012 Betreuerin einer Masterarbeit über die pseudomedizinische Therapiemethode Nanophotonentherapie. In beiden Fällen wurde der Resazurinessay eingesetzt.
Siehe auch
Weblinks
- Satirischer Beitrag der Bamberger Skeptiker mit Bildern von älteren Rayonex-Produkten
- Die Geräte sind auch in Frankreich von Rayonex France verbreitet
Anderssprachige Psiram-Artikel
- Français: Rayonex
Quellen
- ↑ 1,0 1,1 1,2 Offenlegungsschrift DE 4010240 A1: Resonator für hohe Frequenzen. Anmeldetag: 30. März 1990
- ↑ DPMA-Registernummer: 30403232. Wiedergabe der Marke: Bioresonanz Paul Schmidt. Tag der Eintragung: 25. April 2005
- ↑ Gebrauchsmusterschrift DE 202008015761 U1: Vorrichtung für die Bioresonanztherapie. Anmeldetag: 27. November 2008
- ↑ 4,0 4,1 Offenlegungsschrift DE 19735652 A1: Filter für biophysikalische Resonanzschwingungen. Anmeldetag: 16. August 1997
- ↑ 5,0 5,1 Offenlegungsschrift DE 102004001946 A1: Polarisationsvorrichtung für ein Bioresonanzgerät. Anmeldetag: 13. Januar 2004
- ↑ DPMA-Registernummer: 30403179. Wiedergabe der Marke: Polarisator. Tag der Eintragung: 25. April 2005
- ↑ Fraunhofer-Institut für Organische Elektronik, Elektronenstrahl- und Plasmatechnik FEP, Winterbergstraße 28, D-01277 Dresden
- ↑ Dr.-Ing. habil. Christiane Wetzel, BSc Susanne Klamke, BSc Johanna Melke, "Untersuchungen zur Wirkung harmonisierender Schwingungen mittels Rayonex-Gerätetechnik auf Zellkulturen", 29. September 2011, Fraunhofer-Institut für Elektronenstrahl- und Plasmatechnik, Medizinische Applikationen, Winterbergstraße 28, D-01277 Dresden
- ↑ http://vsp.paul-schmidt-akademie.de/doks/pdf/EN_A3-Plakat_Rev5-low.pdf
- ↑ http://www.russlandtag-mv.de/files/uploads/pdf/Teilnehmerverzeichnis.pdf



