Bioresonanz
Die Bioresonanz (auch biophysikalische Informationstherapie / BIT) ist ein pseudowissenschaftliches Konzept, demzufolge der Mensch ein messbares elektromagnetisches Schwingungsspektrum aussende, welches Auskunft über Krankheiten geben soll. Hierauf basiert die Bioresonanztherapie, die zur pseudomedizinischen Behandlung etlicher Krankheiten eingesetzt wird, insbesondere bei Allergien, Schlafstörungen, chronischer Müdigkeit usw. Kern der Methode ist es, "pathologische Schwingungen" mit Hilfe eines Gerätes zu "löschen". Da die behaupteten körpereigenen Schwingungen in Wirklichkeit jedoch nicht existieren, ist die Bioresonanztherapie eine Scheinbehandlung.
Entwickelt wurde die Bioresonanztherapie von dem Arzt Franz Morell (1921-1990) und seinem Schwiegersohn, dem Ingenieur Erich Rasche (1946-2010), und mit dem dazugehörigen Gerät 1977 erstmals vorgestellt.[2] Nach den Anfangsbuchstaben ihrer Namen nannten sie das Verfahren zunächst MORA-Therapie. Es ist außerdem unter den Bezeichnungen BRT, biophysikalische Informationstherapie, elektromagnetische Resonanztherapie oder Multiresonanztherapie bekannt. Es ist eine Weiterentwicklung älterer Verfahren wie der Radionik und vor allem der Elektroakupunktur nach Voll (EAV), welche der Ausgangspunkt für Morells Überlegungen war.[3]
Wegen des fehlenden wissenschaftlichen Wirksamkeitsnachweises wurde die Bioresonanztherapie vom Gemeinsamen Bundesausschuss der Ärzte und Krankenkassen von der Erstattungsfähigkeit durch gesetzliche Krankenkassen in Deutschland ausgeschlossen.[4] Patienten müssen daher selbst für die Kosten aufkommen.
Einige Veterinäre und Tierheilpraktiker behaupten, eine heilende Wirkung der Bioresonanztherapie auch bei Tieren, z.B. bei Parasitenbefall, feststellen zu können. Mehrere Anbieter bewerben das Verfahren sogar zur Behandlung von Pflanzen. Vor allem in Österreich wird auch eine AMB-Methode ("Abnehmen mit Bioresonanz") beworben.
Das Verfahren
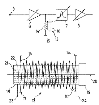
Mit Hilfe einer Elektrode, die der Patient in der Hand hält, werden "körpereigene Schwingungen" oder "Frequenzmuster" abgenommen. Es wird also davon ausgegangen, dass es sich bei diesen Schwingungen um ein elektrisches Signal handele. Diese Wechselspannung wird nun im Bioresonanzgerät um einen einstellbaren Faktor verstärkt, gegebenenfalls "invertiert" und dem Körper über eine andere Elektrode wieder zugeführt. Die beiden Schwingungen sollen sich dann gegenseitig aufheben, wodurch die Krankheit "gelöscht" werden könne.
Bevor das Signal verstärkt und invertiert dem Patienten als "Behandlungsfrequenzmuster" wieder zugeführt wird, kann der Frequenzbereich durch ein Hochpassfilter (HP, lässt nur Signale oberhalb einer bestimmten Frequenz ungeschwächt passieren) oder ein Tiefpassfilter (TP) eingegrenzt werden. Bei neueren Bioresonanzgeräten sind beide Filter oft zu einem Bandpass zusammengefasst (lässt nur Signale in einem bestimmten Frequenzbereich ungehindert passieren). Bei den Einstellungen der Filter könne sich der Anwender nach Empfehlungen der Hersteller richten. Morell selbst gab vage Hinweise der Art, "bei akuten Krankheiten immer zuerst den TP einzusetzen"; chronische Krankheiten erforderten dagegen "mehr den HP". Davon abgesehen solle jeder Therapeut "selber herausfinden und entscheiden, welche Geräteeinstellung es braucht".[6]
Eine weitere, "Separator" oder "Molekularsaugkreis" genannte Baugruppe soll "harmonische" (H) oder "physiologische" Schwingungen von "disharmonischen" (D) und deshalb "pathologischen" Schwingungen trennen können. Da die D-Schwingungen stets als schädlich betrachtet werden, können sie ausschließlich invertiert an den Patienten weitergeleitet werden.
Eine einzelne Bioresonanz-Behandlung dauert einige Minuten bis maximal eine halbe Stunde. Innerhalb dieser Zeit wird die "Therapieschwingung" meist für einige Sekunden im Wechsel mit einigen Sekunden Pause zugeführt. Anstelle von Handelektroden werden mitunter Handschuhe, Füßlinge, Kopfhauben, "Kopfhörer-Elektroden" (mit in die Ohren ragenden Metallstöpseln), oder Kissen und Matten mit eingewebten Metallfäden benutzt.
Die Geräte bieten häufig zusätzliche Funktionen für die EAV (die praktisch nichts weiter als eine Messung des Hautwiderstandes ist) sowie zum "Testen" oder "Energetisieren" von Substanzen. Wie beim so genannten Resonanztest der EAV und vielen Radionik-Geräten wird dazu ein Metallbecher benutzt, der mit einem Kabel an das Therapiegerät angeschlossen ist, oder eine "Testwabe" genannte Halterung aus Metall, in die Ampullen mit Substanzen eingesetzt werden können. Damit sollen angebliche "Schwingungen" erfasst werden, die von den Substanzen ausgehen. Ebenso könnten "Informationen" auf die Substanzen übertragen werden. Außerdem wird damit geworben, dass die Geräte gespeicherte "Frequenzmuster" von Arzneimitteln oder bestimmte "Therapiefrequenzmuster" für häufig auftretende Beschwerden abgeben können. Aufgrund solcher Produktmerkmale sind die Übergänge zwischen Bioresonanz und anderen pseudomedizinischen Verfahren wie EAV, Radionik, "digitaler Homöopathie" (z.B. Holopathie) oder Vitalfeldtherapie fließend.
Abgesehen von der Grundidee der Bioresonanz, "pathologische Schwingungen" zu "löschen", über die sich die Befürworter weitgehend einig sind, ist außerdem festzustellen, dass es in der Szene unterschiedliche Auffassungen gibt, wie ein Bioresonanzgerät aufgebaut sein muss. Eine Komponente, die ein Hersteller für unbedingt notwendig ansieht, wie z.B. den "Separator", kann von einem anderen Anbieter ohne weiteres für unsinnig erklärt werden.
Unplausible Funktionsweise
Die Arbeitsweise der Bioresonanzgeräte wird von den Herstellern und Befürwortern durch eine pseudowissenschaftliche Sprache verschleiert.[7] In der Werbung und in alternativmedizinischer Literatur liest man typischerweise von "gestörter Zellkommunikation", "organspezifischen Schwingungen", "biologischen Übertragungsfrequenzen", Jahrtausende alten Erfahrungen der chinesischen Medizin usw. Vor allem in älteren Publikationen wird oft auf Fritz-Albert Popp und so genannte Biophotonen Bezug genommen. Beliebt sind auch Scheinerklärungen mit Fachbegriffen aus der Quantenphysik. Bioresonanz-Erfinder Franz Morell beruft sich außerdem auf die "Bio-Elektronik" von Luis-Claude Vincent sowie auf Vorstellungen von Wolfgang Ludwig. Die wenigen konkreten Informationen, die sich z.B. aus Patentschriften oder Äußerungen von Morell selbst ableiten lassen, offenbaren esoterisch-naive Vorstellungen zur Elektrotechnik sowie zur Physik im Allgemeinen, ebenso wie zu Physiologie und Biologie. Die daraus resultierenden Widersprüche werden nicht thematisiert.
Was sind körpereigene Schwingungen?
Ausgehend vom so genannten Medikamententest bei der Elektroakupunktur nach Voll (EAV) will Franz Morell um 1958 herausgefunden haben, "daß eine Strahlung des Medikaments vorhanden ist [...] und daß sie durch Draht geleitet werden kann". EAV-Miterfinder Fritz Kramer (1920-2001) habe später geschlussfolgert, dass diese Strahlung "elektromagnetischer Natur sein müsse". 1974 habe Morell schließlich mit Hilfe eines von Erich Rasche gebauten "Test-Sende-Empfängers" nach eigenen Worten den "endgültigen Beweis erbracht, daß homöopathische (und andere) Medikamente elektromagnetische Schwingungen besitzen und abstrahlen".[8] Die Bioresonanztherapie fußt auf Morells anschließender Überlegung, dass "das Phänomen der Medikamententestung" nur möglich sei,
- "weil im Körper des Patienten Schwingungen vergleichbarer Art und Größenordnung vorhanden sind, die durch die Schwingungen der Medikamente abgeschwächt oder ausgelöscht werden. Dann muß es aber auch möglich sein, diese körpereigenen Schwingungen des Patienten zur Therapie zu benutzen, indem man sie in geeigneter Form an den Körper zurückgibt."[9]
Die meisten Befürworter der Bioresonanztherapie gehen ebenfalls davon aus, dass es diese Körperschwingungen tatsächlich gibt und dass es sich um elektrische Schwingungen handelt. Nur wenige betrachten die Behandlung eher als eine Form des Geistheilens. Der Radionik-Anhänger Hermann Grösser z.B. verneint, dass die patienteneigenen Schwingungen als elektrische oder andere physikalische Schwingungen existieren, hält aber die Bioresonanztherapie mitsamt ihren Apparaten als "bewusstseinsgesteuertes Therapieverfahren" dennoch für sinnvoll.[10]
Frequenzen
Eine entscheidende Rolle bei der Bioresonanz spielen die "Frequenzen" der patienteneigenen Schwingungen. Morell habe deshalb im Jahr 1976 mit einer Versuchsperson ein Experiment durchgeführt, "um hinter das Geheimnis der Medikamentenfrequenzen zu kommen":
- "An einer Testperson wurde ein pathologischer Messwert ermittelt. Dann wurde ein sehr gut passendes Medikament ausgetestet. Durch elektronische Filter wurde nun die Frequenz des Medikaments stufenweise beschnitten, bis die Bandbreite ermittelt war innerhalb derer das Medikament wirksam war."[11]
Das heißt, Morell hat zunächst mittels EAV an der Versuchsperson einen Wert festgestellt, der deutlich von 50 abweicht (bei der EAV gibt es eine Skala von 0 bis 100; ein Zeigerauschlag von 50 gilt als gesunder Wert). Das "gut passende Medikament", ein homöpathisches Präparat, wurde mit dem Resonanz- oder Medikamententest der EAV ausgewählt. Dabei ist zusätzlich zum Messstift, mit dem der Patient abgetastet wird, eine metallene "Messwabe" an das Gerät angeschlossen, in die eine Glasampulle mit dem Präparat gesteckt wird. Ein "passendes" Medikament bringe den Zeigerausschlag von einem pathologischen Wert von z.B. 80 wieder in die Nähe von 50.
Diese Prozedur, bei der die behauptete Medikamentenschwingung sowohl als Strahlung durch das Glas einer Ampulle tritt und sodann wieder als niederfrequentes elektrisches Signal in einem Kabel weitergeleitet wird, ist nach elektrotechnischen Gesetzmäßigkeiten abwegig, bei der EAV aber gängige Praxis.
Durch Einfügen der Filter in den Signalweg und Verändern der Filterfrequenzen will Morell nun verschiedene Gesetzmäßigkeiten gefunden haben, zum Beispiel "tiefe Potenzen haben tiefe Frequenzen, mittlere Potenzen haben mittlere und hohe Potenzen haben hohe Frequenzen". Beispielsweise lägen die Schwingungen von Phosphor D 6 im Bereich 210 - 370 Hz, die von der Hochpotenz Carbo animalis C 200 im Bereich 9 - 10 kHz. Da Morell, wie im vorigen Abschnitt dargelegt, körpereigene Schwingungen und Medikamentenschwingungen für eng verwandt hielt, scheint in diesen Experimenten die Begründung für die Frequenzfilter in den Bioresonanzgeräten zu liegen.
Warum können die Schwingungen nicht dargestellt werden?
Wenn die Körperschwingungen auf derart einfache Weise abgenommen und elektronisch verarbeitet werden können, wie die Befürworter der Bioresonanz behaupten, müsste es möglich sein, sie numerisch oder grafisch darzustellen, beispielsweise in Form eines Frequenzspektrums, in dem sich dann auch die pathologischen Frequenzanteile identifizieren lassen. Zur Diagnose, zur Wahl der geeigneten Therapie und zur Dokumentation wäre dies vorteilhaft. Nachdem die elektromagnetischen Körperschwingungen postuliert waren, hätte eine wissenschaftlich saubere Methodik es außerdem erfordert, diese Schwingungen zunächst messtechnisch zu untersuchen.
In der Literatur zur Bioresonanz finden sich keine solchen Darstellungen. Der Punkt kommt selten zur Sprache und wenn, wird kurzerhand behauptet, dass die Signale zu schwach seien und im "technischen Rauschen" der Messgeräte untergingen.[12][11] Wenn dies zutrifft und die vom Körper abgenommene elektrische Wechselspannung zu niedrig ist, um sie mit geeigneten Messgeräten zu erfassen, kann sie aber genauso wenig von den Bioresonanzgeräten elektronisch verarbeitet werden.
Die Behauptung ist aus einem weiteren Grund widersprüchlich. In der üblichen Konfiguration der Bioresonanz bildet der Körper eine Antenne, die – meistens über eine "Elektrode" in der Hand – mit dem Eingang eines Niederfrequenzverstärkers verbunden ist. Auf diese Weise werden elektrische Wechselfelder technischen Ursprungs aufgefangen, vor allem solche mit der Netzfrequenz 50 Hz und Vielfachen davon (der im Blockschaltbild eingezeichnete Trennverstärker hilft gegen diese Störungen nicht). Die Höhe der Spannung hängt von verschiedenen Faktoren ab, z.B. sehr stark davon, ob und wie die andere Hand oder ein anderer Körperteil ebenfalls mit dem Gerät verbunden ist. Sie ist aber in jedem Fall so hoch, dass sie sich problemlos messen lässt.[13] Das bedeutet aber, dass mit Bioresonanzgeräten statt der behaupteten extrem schwachen Körperschwingungen tatsächlich bestenfalls technische Störsignale verarbeitet und als angebliche "Therapieschwingungen" an den Körper weitergeleitet werden. Deren Stärke, ausgedrückt beispielsweise durch die in den Körper eingeleitete elektrische Energie, ist überdies wegen der verschiedenen Konfigurationen mit und ohne Gegenelektrode (oder auch ganz ohne leitende Verbindung mit mattenförmigen Elektroden o.ä.) völlig unbestimmt.
Die Inversschaltung
Neben der "Verwendung patienteneigener Schwingungen" sei "die Inversschaltung", so Morell, "das zweite Standbein der MORA-Idee" und sein "geistiges Eigentum". Seinem Buch ist zu entnehmen, dass das damit angeblich mögliche "Löschen körpereigener Schwingungen" auf seiner Vorstellung vom "Löschen einer technischen Schwingung" beruht.[14] Morell versuchte diese naive Idee durch Äußerungen der Art aufzuwerten, dass der Vorgang in Wahrheit "unendlich viel komplizierter" sei und "die Kräfte zumindest der 5. Dimension, der Dimension der Entelechie" beteiligt seien; dazu brachte er den Namen Burkhard Heim, aber auch die Fünf-Elemente-Lehre ins Spiel.
Separator und Molekularsaugkreis
Der "Separator", der "harmonische" oder "physiologische" Schwingungen von "disharmonischen" oder "pathologischen" Schwingungen trennen soll, wurde laut Morell 1981 in die Bioresonanztechnik eingeführt, weil man die unerwünschte Möglichkeit erkannt hatte, "daß auch physiologische Schwingungen gelöscht würden."[16] Er geht auf den Erfinder Ludger Mersmann (1949-2004) zurück, der sich in den 1970er und 1980er Jahren mit der Konstruktion von Bioresonanzgeräten beschäftigte. Unter einer harmonischen Schwingung versteht man eine sinusförmige Schwingung. Als solche hat sie nur eine einzige, genau definierte Frequenz. Morell erklärt harmonische Schwingungen dagegen fälschlich als "Schwingungen, bei denen die Amplituden in Form und Größe über und unter der Nullinie völlig gleich sind". Reine Sinusschwingungen kommen in der Natur nicht vor, aber auch "harmonische Schwingungen" in Morells Sinn sind dort kaum zu finden, insbesondere nicht als elektrische Signale in Organismen.[17] Ein Grund, warum ausgerechnet solche nichtnatürlichen Schwingungen in der Bioresonanztherapie als etwas Positives gelten, ist nicht zu erkennen, abgesehen davon, dass das Wort "harmonisch" in der Alltagssprache und in der Esoterik oft die Bedeutung "gut" oder "wohltuend" hat.
Eine elektronische Schaltung, welche die behauptete Trennung leistet, gibt es nicht. Der Separator ist denn auch eine dubiose Anordnung, bei der das elektrische Signal auf nicht nachvollziehbare Weise an einen kleinen Behälter "mit biochemischen Komplexstoffen" angekoppelt ist und von dort als elektrisches Signal weitergeleitet wird, welches nun aber nur noch die "physiologische, nichttoxische Komponente" enthalte.[18] Bei der fraglichen Substanz kann es sich beispielsweise um Chloropyll handeln.[19]
Später wurde statt des ursprünglichen Separators eine sehr ähnliche, "Molekularsaugkreis" genannte Erfindung von Erich Rasche und Wolfgang Ludwig verbaut. Ein Saugkreis ist eine aus der Radiotechnik bekannte Schaltung zum Abschwächen von Signalen einer bestimmten Frequenz. Diese werden dabei durch einen Serienresonanzkreis (eine Reihenschaltung einer Kapazität und einer Induktivität) kurzgeschlossen. Beim Molekularsaugkreis dagegen sollen, wie offenbar schon in Mersmanns Erfindung, die optischen Filtereigenschaften einer Substanz nutzbar gemacht werden, allerdings nicht für Licht, sondern für elektrische Signale in einem völlig anderen Frequenzbereich, wo "bestimmte Frequenzen herausgefiltert werden" sollen.[15] Als geeignete Substanz schlugen Rasche und Ludwig zunächst verdünntes Hämoglobin oder Chlorophyll vor; später sollen auch Mineralien in Pulverform benutzt worden sein. Die Substanz befindet sich in einem kleinen, etwa 2 cm großen Behälter, der mit zwei Drahtwicklungen zum An- und Auskoppeln des elektrischen Signals versehen ist. Eine dritte Spule soll eine Alterung der Substanz verhindern. Durch diese "Reaktivierungswicklung" müsse dazu von Zeit zu Zeit ein "reaktivierender Strom" geschickt werden.
Separator und Molekularsaugkreis sind technisch und physikalisch unsinnig und können in der behaupteten Weise nicht funktionieren. Folglich werden auch keine Nachweise darüber erbracht, etwa mit definierten elektrischen Signalen aus einem Laborgenerator. Auch bleibt völlig unklar, wie die Wundereigenschaft zustande kommen soll, dass damit aus den behaupteten körpereigenen Schwingungen nur die "pathologischen Frequenzen" herausgefiltert werden.
Wissenschaftliche Studienlage
Wissenschaftliche Untersuchungen der Eignung der Bioresonanz als diagnostisches oder therapeutisches Verfahren ergaben keinen Nachweis einer Wirksamkeit über den Placeboeffekt hinaus.[20] Die Anwendung der Bioresonanz kann hingegen zu Fehldiagnosen mit der Gefahr von Fehlbehandlungen führen.[21]
Auch bei der Therapie des kindlichen Stotterns konnte keine Wirksamkeit nachgewiesen werden.[22]
Einer einzelnen Studie zufolge sei die Bioresonanztherapie bei der Rauchentwöhnung klinisch wirksam.[23]
Die Bioresonanz wird häufig zur Diagnose und Therapie tatsächlicher oder vermuteter Allergien eingesetzt. Für diagnostische Zwecke hat sie sich indes als ungeeignet erwiesen.[24] Eine Untersuchung der Universität Lübeck aus dem Jahr 2001 schätzte, dass 26% aller Allergie-Patienten eine Therapie aus dem alternativmedizinischen Bereich wählten, etwa 10% von ihnen entschieden sich für die Bioresonanz.[25] Wissenschaftliche Studien ergaben jedoch, dass Heilungserfolge der Bioresonanz-Methode bei der Allergiebehandlung von Kindern nicht reproduzierbar waren und nicht über einen Placeboeffekt hinausgingen.[26][27][28][29][30][31][32][33][34][35][36][37]
In einer Stellungnahme zu Bioresonanz- und Elektroakupunkturgeräten kam die Fachkommission der Schweizerischen Gesellschaft für Allergologie und Immunologie (SGAI) 2006 zu dem Ergebnis, dass diese Methoden zur Diagnostik und Therapie von (vermeintlichen) Allergien "diagnostischer und therapeutischer Unsinn" sind.[38]
Hersteller
Einige Anbieter von Bioresonanzgeräten sind:
- BioKat Systeme GmbH, Lahr, bietet das M V-Bioresonanzgerät an. Geschäftsführer ist Andre Rasche, Neffe von Erich Rasche, der wiederum Neffe von Franz Morell war. In pseudowissenschaftlich formulierten Werbentexten beruft sich BioKat Systeme auf Jacques Benveniste, Luc Montagnier, Klaus Volkamer und den Botaniker Gunter M. Rothe. Gerüchteweise sollen Mitarbeiter der Med-Tronik GmbH zur BioKat "übergelaufen" sein. BioKat steht auch im Ruf MORA-Geräte der Med-Tronik nachgebaut zu haben.
- Bucher GmbH, Heuchlingen. An der Entwicklung des 2014 vorgestellten Gerätes Bucher Bioresonance Triselect war Hermann Grösser beteiligt.
- Dermavit GmbH + Co KG, München. Das Gerät Trikombin wird als "das trimensionale Gerät der Bioresonanz" beworben, da es außer für die "klassische Bioresonanz durch Invertierung eines Kanals" auch als Zapper sowie zu einer "Matrix-Entladungs-Anwendung nach Baklayan" von Alan E. Baklayan[39] einsetzbar sei.
- Deta Elis, Selenograd bei Moskau, in Deutschland vertreten durch die Deta Elis Europa GmbH in Künzell. Angeboten werden Geräte für die Elektroakupunktur nach Voll. Mit einigen davon, z.B. Deta Professionell und Deta Pharma, soll auch Bioresonanztherapie möglich sein.
- Holimed Privatinstitut für holistische Medizinsysteme GmbH, Nürnberg. Für die Bioresonanzgeräte der Reihen RemiWave und Bioswing wird damit geworben, dass der Frequenzbereich "bis hinab zu 0 Hertz" reiche und nach oben bis 1 MHz. Außerdem hält Holimed den "Separator" zum Trennen "physiologischer" und "pathologischer" Schwingungen, wie ihn andere Hersteller verwenden, für unsinnig.[40]
- IMEDIS, Moskau, Russland. In der EU werden die Produkte von der Firma IPP Ing. Peter Peutler GmbH aus Graz vertrieben.
- Josef Jahoda Ingenieurbüro für Biophysik, Bensheim. Das in den 1990er Jahren angebotene Gerät Lycotronic war auch 2015 noch bei einigen Heilpraktikern im Einsatz. Die damit praktizierte Bioresonanztherapie ist auch als "Lykotronic-Therapie" bekannt geworden.
- Kindling GmbH Medizintechnik, Hildesheim, bietet die Geräte Kindling EASY, Akuport MR2 und Retec 2000 CP an.
- Med-Tronik GmbH, Friesenheim. Bioresonanz-Mitentwickler Erich Rasche gründete diese Firma 1979 und war bis zu seinem Tod im April 2010 deren Geschäftsführer. Die Geräte von Med-Tronik tragen den Namen MORA, nach der ursprünglichen Bezeichnung der Bioresonanz von Morell und Rasche. Unter anderem wird ein Modell MORA-Physio Basic "für den Hausgebrauch" angeboten.
- NutriVital Health Ltd., Petersfield, Hampshire, England. Das Gerät mit der Bezeichnung Asyra oder Asyra Pro soll innerhalb der "Energiemedizin" vielfältig einsetzbar und auch zur Bioresonanztherapie geeignet sein.
- Rayonex Biomedical GmbH, Lennestadt, vertreibt Produkte für die "Bioresonanz nach Paul Schmidt". Deren esoterische Vorstellungen unterscheiden sich von denen anderer Bioresonanz-Anbieter. Im Gegensatz zu Regumed und Med-Tronik, nach denen die behaupteten Körperschwingungen elektrischer Natur seien, lässt Rayonex dies offen und spricht von "Schwingungen im Bereich der Bioenergien".
- Regumed Regulative Medizintechnik GmbH, Gräfelfing. Der bekannte Hersteller von Bioresonanz-Geräten mit dem Markennamen Bicom bezeichnet sich als "Nr. 1 der Bioresonanztherapie".
- Karlheinz & Birgit Sauer GbR, Goldbach. Das Bioresonanz-3000 ist trotz des Namens weniger der Bioresonanz als vielmehr der Radionik zuzurechnen. Es wird von der Firma tca-electronics Heinz Röslmeier in Rosenheim gebaut.
- Wegamed, Essen, bietet das Bioresonanzgerät Med select an. Es kann als Nachfolger des Vega Select gelten.
Bezüge zu Scientology
Der Erfinder der Bioresonanztherapie, der Arzt und frühere SS-Oberscharführer[41] Franz Morell, war Scientology-Aktivist[42][43] und gründete 1970 den Verein "College für angewandte Philosophie e.V." mit, der laut Satzung Kurse zur "praktischen Anwendung der Philosophie von L. Ron Hubbard" veranstaltete. Im Jahr 1975 war Morell an der Gründung der Scientology-Tarnorganisation Narconon in Frankfurt mitbeteiligt. Die von der Stuttgarter Scientology-Niederlassung herausgegebene Zeitschrift College Nr. 11 bezeichnete Morell im Jahr 1975 als "seit Jahren hochausgebildete[n] Scientologe[n]".[44]
Auch Hans Brügemann (geb. 1925), der bis 2015 Geschäftsführer der Regumed GmbH war, einem bekannten Hersteller von Bioresonanz-Geräten, ist oder war Scientologe[45] und soll Operierender Thetan, WISE-Mitglied[46] und Patron der International Association of Scientologists sein, was eine Spende an die IAS in der Größenordnung zwischen 40.000 und 100.000 $ beinhaltet; der frühere Buchhalter der Firma, Kurt Weiland, soll u.a. als internationaler Vizechef des Scientology-Geheimdienstes OSA tätig gewesen sein.[47] Bis etwa 1987, als Brügemann sein eigenes Bioresonanzgerät auf den Markt brachte, gab es eine Zusammenarbeit mit Morell. 1990 stellte Brügemann in einem Zeitschriftenartikel Verbindungen zwischen der Bioresonanztherapie und Ideen von Scientology-Gründer L. Ron Hubbard her.[48][49] In Internetforen wird ferner eine auf den Juni 2004 datierte, nur mit "Brügemann" gezeichnete, an Eides Statt abgegebene Erklärung erwähnt, derzufolge zwischen der Regumend GmbH und der Scientology-Organisation keine wirtschaftlichen oder anderen Verbindungen beständen. Auch habe das von Regumed produzierte Bicom-Gerät keine Ähnlichkeit mit dem von Scientology eingesetzten E-Meter (ob dies jemand behauptet hatte, ist nicht bekannt).[50]
Der Physiker Siegfried Kiontke, Entwickler der Vitalfeldtherapie, die der Bioresonanztherapie in Teilen stark ähnelt, ist ebenfalls Scientology-Mitglied (OT VIII).
Die deutschsprachige Wikipedia schreibt zu den Bezügen zwischen Scientology und dem Begriff Bioresonanz:
- ..Um nicht weiter in die Nähe von Scientology gerückt zu werden, benannten sich in den 1990er Jahren mehrere bedeutende Therapeutenvereinigungen um und verbannten „Bioresonanz“ aus ihrer Namensgebung. So existieren ähnliche Verfahren unter den Namen Biokommunikations-, Bicom-, Multicom- und Multiresonanztherapie, Biophysikalische Informationstherapie (BIT), Diagnostische Resonanztherapie (DRT), Sequentielle Frequenzdiagnostik, Lykotronik-Therapie, SomaDyne, VegaSTT oder Matrix-Regerationstherapie..[51]
Siehe auch
- Quantenanalyse (Quantenanalytik)
Literatur
- Stiftung Warentest: Bioresonanztherapie. In: Die Andere Medizin, 111-115. Berlin, Januar 2006
- Edzard Ernst (2004): Bioresonance, a study of pseudo-scientific language. Forsch Komplementarmed Klass Naturheilkd. 11(3) 171-173
- M. H. Schoni, W. H. Nikolaizik, F. Schoni-Affolter (1997): Efficacy trial of bioresonance in children with atopic dermatitis. Int Arch Allergy Immunol. 112(3) 238-246
- F. Cap: Bemerkungen eines Physikers zur Bioresonanz. Allergologie 1995, 18: 253-257
- Nicola Zink: Betrug mit der Bioresonanz - Der Leberkäse erfreute sich bester Gesundheit. HautinForm, 1.12.2022. Ausgabe 4/2022
Weblinks
- Krista Federspiel: Bioresonanz-Therapie. Gesellschaft zur wissenschaftlichen Untersuchung von Parawissenschaften (GWUP)
- Bioresonanztherapie AOK-Bundesverband Berlin, August 2014
- https://www.srf.ch/news/schweiz/esoterischer-humbug-bioresonanz-therapie-viel-geld-fuer-keine-wirkung
- Brunello Wüthrich: «Unproven» Tests bei Nahrungsmittelintoleranzen (2. Teil) der informierte arzt 03/2014, 39-43
- Gabriela Poller-Hartig: Bioresonanz: Heilen mit einem Lügendetektor? derStandard.at, 5. April 2013
- Colin Goldner: Von falsch gepolten Schwingungen Süddeutsche.de, 21. März 2012
- Hugo Stamm: Bioresonanz: "Therapeutischer Unsinn" Tagesanzeiger, 30. Juni 2009
- Krista Federspiel: Alternativmedizinische Angebote und ihre ideologischen Hintergründe. Vortrag bei der Jahresfachtagung der Elterninitiative zur Hilfe gegen seelische Abhängigkeit und religiösen Extremismus e.V. und der Bayerischen Arbeitsgemeinschaft Demokratischer Kreise (ADK), 2009
- Bioresonanz unwirksam Die Welt, 7. April 2006
- B. Wüthrich et al.: Bioresonanz - diagnostischer und therapeutischer Unsinn. Schweizerische Ärztezeitung 02/2006, 50-54
- Ärzte-Test: Bioresonanztherapie. Negative Schwingungen Konsument.at, 15. Februar 2006
- https://www.aekno.de/fileadmin/user_upload/RheinischesAerzteblatt/Ausgaben/1996/1996.09.015.pdf
- Helga Lerchenmüller: Scientology und die Bioresonanztherapie. Aktion Bildungsinformation e.V., 14. November 2003
- Robert Mosenkis: Examination of a Vegatest Device. quackwatch.org, 11. September 2001
- Krista Federspiel: Okkultes und Esoterisches in der Medizin. Jahresfachtagung der Elterninitiative zur Hilfe gegen seelische Abhängigkeit und religiösen Extremismus e.V. und der Bayerischen Arbeitsgemeinschaft Demokratischer Kreise (ADK)
- Die Bioresonanz-Methode gilt als unwirksam – aber wird nun als Wundermittel gegen Corona angepriesen - Krankenkassen zahlen Millionen für Scientologen-Therapie Blick, 12.05.2020
- Wenn Leichen lächeln und Leberkäse leben – willkommen bei der Bioresonanz Watson.ch, 12.09.2020
- https://onkelmichael.blog/2022/06/03/nur-der-leberkas-war-zeuge-die-bioresonanztherapie-vor-gericht
Video
Patente und Patentanmeldungen
(unvollständige Liste)
- DE000019831785A1 Vorrichtung zur Anwendung bei der elektromagnetischen Resonanztherapie, Anmeldedatum 15.7.1998, Veröffentlichungsdatum 2.12.1999, Anmelder/Inhaber REGUMED Regulative Medizintechnik GmbH, 82166 Gräfelfing, Erfinder Brügemann, Hans, 82205 Gilching, DE. Die Erfindung betrifft eine Vorrichtung zur Anwendung bei der elektromagnetischen Resonanztherapie mit Einrichtungen zur Aufnahme und Modifikation elektromagnetischer Schwingungen sowie zur Wiedergabe wenigstens eines Teiles der modifizierten Schwingungen, wobei die Vorrichtung die Schwingungen dadurch modifiziert, daß sie mindestens einen Teil des Frequenzspektrums der aufgegebenen elektromagnetischen Schwingungen invertiert und diesen modifizierten Teil wieder abgibt, wobei die Amplituden und/oder die Frequenzen der wieder abgegebenen Schwingungen anhebbar und/oder absenkbar und wobei Einrichtungen, welche die Amplituden und/oder die Frequenzen nach dem Dualsystem modifizieren, vorhanden sind, so daß die Amplituden und/oder die Frequenzen der abgegebenen Schwingungen ein Vielfaches der Amplitude und/oder der Frequenz der aufgenommenen Schwingungen sind, wobei eine eingestellte Verstärkung eines definierten Frequenzbereiches zu einem Therapieprogramm derart moduliert werden kann, daß diese automatisch von einer kleinsten Verstärkungsstufe bis zu einer voreingestellten höchsten Verstärkungsstufe kontinuierlich angehoben werden kann.
- DE2840114A1: Verfahren zur Untersuchung biologisch wirksamer elektromagnetischer Strahlungen von anorganischen und organischen Substanzen sowie deren komplexe Verbindungen bezüglich ihrer toxischen und nichttoxischen Quantität und Qualität ihrer Einwirkungen auf biologische Systeme wie Mineralien, Pflanzen, Tiere und Menschen, sowie sonstige Elemente und deren Verbindungen. Anmelder/Erfinder: Ludger Mersmann. Anmeldedatum: 15.09.1978. Patentansprüche zurückgewiesen: 14.12.1982. Verfahren erloschen: 01.08.1985
- DE000019637200A1, Elektrode zur Behandlung mittels Bioresonanztherapie, Anmeldedatum 12.09.1996, Veröffentlichungsdatum 19.03.1998, Anmelder/Inhaber REGUMED Regulative Medizintechnik GmbH, 82166 Gräfelfing, Erfinder Rechnitzer, Ivan, 22328 Nahariya, IL. Die Erfindung betrifft eine Therapieelektrode, insbesondere für die Bioresonanztherapie, mit welcher insbesondere Augenkrankheiten unter Anwendung der Bioresonanztherapie therapiert werden können. Die erfindungsgemäße Elektrode ist aber auch zum Therapieren nahezu aller anderen Körperbereiche mittels Bioresonanztherapie geeignet. Besonders vorteilhaft ist die Möglichkeit der Therapierung des Nervus opticus im angeregten Zustand unter Zuhilfenahme dieser Therapieelektrode. Die Therapieelektrode besteht aus flexibler Folie, welche durch einen Verschlußmechanismus miteinander verbunden werden kann und welche Anschlußelemente zum Verbinden mit dem Therapiegerät aufweist. Die flexible Folie besteht dabei aus mindestens zwei übereinander angeordneten Folienschichten, von welchen eine aus einem elektrisch leitfähigen Material und eine aus einem nicht leitenden Material ausgebildet ist. Erfindungsgemäß wird zwischen der elektrisch leitfähigen Folienschicht und der nicht leitfähigen Folienschicht eine perforierte Magnetfolie eingebracht.
- DE000019547309A1, Vorrichtung zur Anwendung bei der elektromagnetischen Resonanztherapie, Anmeldedatum 18.12.1995, Veröffentlichungsdatum 24.04.1997, Anmelder/Inhaber REGUMED Regulative Medizintechnik GmbH, 82166 Gräfelfing, Erfinder (nicht genannt), Es ist eine Vorrichtung zur Anwendung bei der elektromagnetischen Resonanztherapie vorgesehen, welche Einrichtungen zur Aufnahme und Modifikation elektromagnetischer Schwingungen sowie zur Wiedergabe wenigstens eines Teiles der modifizierten Schwingungen besitzt, wobei die Vorrichtung die Schwingungen dadurch modifiziert, daß sie einen Teil des Frequenzspektrums der aufgenommenen elektromagnetischen Schwingungen filtert und diesen modifizierten Teil wieder abgibt und die Amplituden und/oder Frequenzen der wieder abgegebenen Schwingungen anhebbar und/oder absenkbar sind, wobei die Vorrichtung eine Einrichtung aufweist, mittels der die Amplituden und/oder Frequenzen nach dem Dualsystem modifiziert werden können.
- DE000029709094U1, Gerät für die Bioresonanz-Therapie, Anmeldedatum 23.05.1997, Veröffentlichungsdatum 29.10.1998, Anmelder/Inhaber Kiontke, Siegfried, Dr., 81245 München
- CH000000693623A, Elektronisches Bioresonanz-Gerät, Anmeldedatum 18.06.1997, Veröffentlichungsdatum 28.11.2003, Anmelder/Inhaber COUFAL ELEKTRONIK AG, CH, Erfinder COUFAL HANSPETER, CH
- DE102006011591A1, Bioresonanz-Therapiegerät, Anmeldedatum 10.03.2006, Veröffentlichungsdatum 13.09.2007 , Anmelder/Inhaber Zimmermann, Uwe, 06785 Oranienbaum, DE, Erfinder Zimmermann, Uwe, 06785 Oranienbaum, DE, Bei einem Bioresonanz-Therapiegerät B, welches ein Aggregat 1 zur Generierung biologisch wirksamer elektromagnetischer Schwingungsfolgen, eine den Körper oder Körperteile des Patienten berührende oder umhüllende Übertragungseinheit 2, die mit dem Aggregat 1 elektrisch gekoppelt ist, und eine Steuereinheit 3 zur Steuerung der vom Aggregat 1 zu generierenden Schwingungsfolgen umfasst, ist die Übertragungseinheit 2 aus einem flexiblen Stützmaterial gebildet, das mit einem elektrisch leitfähigen Material flächig verbunden ist, und die elektrisch leitfähige Materialfläche ist in eine Mehrzahl elektrisch getrennter Segmente S1, S2, S3 aufgeteilt, welche mittels der Steuereinheit 3 des Aggregates 1 einzeln ansteuerbar sind.
- DE3114905A1: Elektronikgerät zur Signalverstärkung und Spektralfiltrierung für meteorologische, landwirtschaftliche und medizinische Anwendungen. Anmeldedatum: 13.04.1981. Patentansprüche zurückgewiesen: 26.05.1983, Anmelder/Erfinder: Erich Rasche, Wolfgang Ludwig
Anderssprachige Psiram-Artikel
- Français: Biorésonance
Quellennachweise
- ↑ Zur Diagnostik verwendet die Therapeutin auf dem Foto außerdem eine Einhand-Wünschelrute.
- ↑ https://www.aekno.de/fileadmin/user_upload/RheinischesAerzteblatt/Ausgaben/1996/1996.09.015.pdf
- ↑ Franz Morell: MORA-Therapie. Patienteneigene und Farblicht-Schwingungen – Konzept und Praxis. 3. Aufl. Haug, 1992
- ↑ Richtlinie des Gemeinsamen Bundesausschusses zu Untersuchungs- und Behandlungsmethoden der vertragsärztlichen Versorgung Fassung vom 17. Januar 2006, zuletzt geändert am 18. Dezember 2014, Anlage II, Nummer 17
- ↑ Franz Morell: MORA-Therapie. 3. Aufl. 1992, S. 40
- ↑ Franz Morell: MORA-Therapie. 3. Aufl. 1992, S. 49
- ↑ Edzard Ernst: Bioresonance, a study of pseudo-scientific language. Forsch Komplementarmed Klass Naturheilkd. 2004 Jun;11(3):171-3
- ↑ Franz Morell: MORA-Therapie. 3. Aufl. 1992, S. 24/25
- ↑ Franz Morell: MORA-Therapie. 3. Aufl. 1992, S. 35
- ↑ Zitat Hermann Grösser: "An einem klassischen Bioresonanzgerät lassen sich keine physikalisch messbaren Therapiesignale an den Ausgangselektroden nachweisen. Warum auch, denn für symbolische Handlungen besteht dafür keinerlei Notwendigkeit. Bei den meisten Geräten am Markt ist deshalb vieles Fake (Schein) und dient nur dem therapeutischen Ritual. Gleiches gilt z.B. auch für die angeblich so wichtige Abschwächung oder Verstärkung patienteneigener Schwingungen. Ob ein „NICHTS“ zehnmal virtuell abgeschwächt, bzw. tausendmal oder sogar Millionen Mal virtuell verstärkt wird, ist völlig irrelevant, was zählt ist lediglich der im Bewusstsein des Anwenders stattfindende „geistige“ Prozess und die Bedeutung, die er seiner Aktion selbst zuschreibt." http://www.radionik.info/bioresonanz-und-die-welt-der-schwingungen, Aufruf am 2. Februar 2015
- ↑ 11,0 11,1 11,2 Franz Morell: MORA-Therapie. 3. Aufl. 1992, S. 29-33
- ↑ Elisabeth Rozkydal: Moratherapie und Neurotransmitter. In: Otto Bergsmann (Hg.): Elektrodiagnostik. Facultas-Universitätsverlag, Wien 1992
- ↑ Mit einer Handelektrode im Niederfrequenzbereich gemessenes Spektrum. Statt "Körperschwingungen" zeigen sich im Wesentlichen die Netzfrequenz von 50 Hz und ungerade Vielfache davon. Messbedingungen: Normale Büroumgebung, Sitzende Versuchsperson, die in einer Hand einen Metallstab hält, der mit dem Eingang des Messgerätes verbunden ist (eine typische Konfiguration bei der Bioresonanz). Messgerät: Agilent 35670A Dynamic Signal Analyzer, Eingangswiderstand 1 MΩ Frequenzbereich 6.4 kHz, Auflösung 800 Linien. Oben: einpolige Verbindung der Hand mit dem Eingang des Analysators. Unten: Die zweite Hand ist mit dem Masseanschluss des Analysators verbunden; die Spannung ist geringer, aber nach wie vor deutlich messbar.
- ↑ Franz Morell: MORA-Therapie. 3. Aufl. 1992, S. 39
- ↑ 15,0 15,1 DE 3114905 A1: Elektronikgerät zur Signalverstärkung und Spektralfiltrierung für meteorologische, landwirtschaftliche und medizinische Anwendungen. Anmelder/Erfinder: Erich Rasche, Wolfgang Ludwig. Anmeldedatum: 13.04.1981. Patentansprüche zurückgewiesen: 26.05.1983.
- ↑ Franz Morell: MORA-Therapie. 3. Aufl. 1992, S. 60
- ↑ Ein Beispiel für eine tatsächlich vorhandene, elektrische "körpereigene Schwingung" ist das Elektrokardiogramm (EKG). Die Signale sind nicht harmonisch, weder im mathematisch-physikalischen Verständnis des Wortes, noch im Sinne von Morells Privatdefinition des Begriffs "harmonische Schwingung".
- ↑ DE 2840114 A1: Verfahren zur Untersuchung biologisch wirksamer elektromagnetischer Strahlungen von anorganischen und organischen Substanzen sowie deren komplexe Verbindungen bezüglich ihrer toxischen und nichttoxischen Quantität und Qualität ihrer Einwirkungen auf biologische Systeme wie Mineralien, Pflanzen, Tiere und Menschen, sowie sonstige Elemente und deren Verbindungen. Anmelder/Erfinder: Ludger Mersmann. Anmeldedatum: 15.09.1978. Patentansprüche zurückgewiesen: 14.12.1982. Verfahren erloschen: 01.08.1985.
- ↑ http://www.radionik.info/artikel/report.php
- ↑ Übersicht in B. Wüthrich et. al.: Bioresonanz - diagnostischer und therapeutischer Unsinn. Schweizerische Ärztezeitung 02/2006, 50-54
- ↑ Oepen, I: Unconventional diagnostic and therapeutic methods in environmental medicine. Gesundheitswesen, 1998 Jul;60(7):420-30
- ↑ Wille A: Bioresonance therapy (biophysical information therapy) in stuttering children. Forsch Komplementarmed. 1999 Feb;6 Suppl 1:50-2
- ↑ Aylin Pihtili, Michael Galle, Caglar Cuhadaroglu, Zeki Kilicaslan, Halim Issever,Feyza Erkan, Tulin Cagatay, Ziya Gulbaran: Evidence for the Efficacy of a Bioresonance Method in Smoking Cessation: A Pilot Study. Forsch Komplementmed 2014;21:239-245
- ↑ Wüthrich B: Unproven techniques in allergy diagnosis. J Investig Allergol Clin Immunol., 2005;15(2):86-90
- ↑ Schäfer T, Riehle A, Wichmann HE, Ring J: Alternative medicine in allergies - prevalence, patterns of use, and costs. Allergy, 2002 Aug;57(8):694-700
- ↑ Berggold O: Der sogenannte Medikamententest in der Elektroakupunktur. Zeitschr. Allgemeinmed., 1976, 52, S.312
- ↑ Bresser H: Allergietestung mit der Elektroakupunktur nach Voll. Hautarzt, 1993 44, S.408
- ↑ Hörner M: Bioresonanz: Anspruch einer Methode und Ergebnis einer technischen Überprüfung. Allergologie, 1995, 18, S. 302
- ↑ Kofler H.: Bioresonanz bei Pollinose. Eine vergleichende Untersuchung zur diagnostischen und therapeutischen Wertigkeit. Allergologie 1996,19, S. 114
- ↑ Niggemann B: Unkonventionelle Verfahren in der Allergologie. Kontroverse oder Alternative? Allergologie 2002,25, S. 34
- ↑ Schöni MH: Efficacy trial of bioresonance in children with atopic dermatitis. Arch. Allergy Immunol., 1997, Mar; 112(3), S. 238-246
- ↑ Schultze-Werninghaus: Paramedizinische Verfahren: Bioresonanzdiagnostik und -Therapie. Allergo J., 1993, 2, 40-2
- ↑ Wandtke F: Biorensonanz-Allergietest versus pricktest und RAST. Allergologie 1993, 16, S. 144
- ↑ Wille A: Bioresonance therapy (biophysical information therapy) in stuttering children. Forsch. Komplementarmed. 1999, Feb., 6, Suppl 1:50-2
- ↑ Wüthrich B: Unproven techniques in allergy diagnosis. J. Invest. Clin. Immunol., 2005, 15, S. 86-90
- ↑ Kleine-Tebbe J, Herold DA: Ungeeignete Testverfahren in der Allergologie. Hautarzt. 2010 Nov;61(11):961-6
- ↑ Brunello Wüthrich: «Unproven» Tests bei Nahrungsmittelintoleranzen (2. Teil). der informierte arzt 03/2014, 39-43
- ↑ Fachkommission der Schweizerischen Gesellschaft für Allergologie und Immunologie (SGAI): Bioresonanz – diagnostischer und therapeutischer Unsinn. Schweizerische Ärztezeitung 2006;87: 2, Seite 50-54 PDF
- ↑ Alan E. Baklayan (geb. 1959) ist ein Heilpraktiker aus München und Befürworter sowohl der Bioresonanz als auch des Scharlataneriegerätes Zapper nach Hulda Clark. Das Gerät Trikomb sei, so Baklayan, "das Ergebnis meiner langjährigen Forschungsarbeit" (http://www.baklayan.de/trikombin.htm, Aufruf am 11. Februar 2015)
- ↑ http://www.holimed.de/fachbegriffe-fuer-die-eav-und-die-bioresonanz-separator/ Aufruf am 4. Februar 2015
- ↑ Angabe aus dem selbst verfassten Lebenslauf in der 22-seitigen Dissertation von Franz Morell an der Universität Gießen aus dem Jahr 1944 mit dem Titel Die Einwirkung kurzdauernder Aortenabklemmungen in verschiedenen zeitlichen Abständen auf die Funktion der Vorderhornganglienzellen. Zitat: "Ich wurde am 24.5.1921 in Frankfurt am Main geboren, besuchte, nach acht Jahren Privatunterricht in Italien, für ein Jahr die deutsche Schule in Rom, von 1936 an die Oberschule in Pirmasens, wo ich Ostern 1938 die Reifeprüfung ablegte. 1939 begann ich mit dem Studium der Medizin in Leipzig, wo ich mein 1. Semester studierte. 1940 hatte ich das 1. und 3. Trimester in Marburg belegt, 1941 das 1. Trimester in Gießen, wo ich im März 1941 die ärztliche Vorprüfung ablegte. Das 5. Semester hatte ich im Wintersemester 1941/42 in Würzburg belegt. Seit dem Sommersemester 1942 studierte ich wieder in Gießen, um nach dem Sommersemester 1944 die ärztliche Prüfung abzulegen. gez. Franz Morell, SS-Oberscharführer"
- ↑ Michael Franken in der Online-Ausgabe der Wochenpost www.wochenpost.de/4922.htm
- ↑ Report Nr. 2/1995 vom Anti-Scientology-Verein Robin Direkt e.V.
- ↑ http://www.abi-ev.de/pdf/in141103.pdf
- ↑ http://www.truthaboutscientology.com/stats/by-name/h/hans-brugemann.html
- ↑ WISE, das World Institute of Scientology Enterprises, ist ein Verband von Firmen, die nach Scientology-Methoden geführt werden.
- ↑ Frank Nordhausen, Liane v. Billerbeck: Scientology: Wie der Sektenkonzern die Welt erobern will, Berlin 2008. S. 420
- ↑ Brügemann H (1990): Die Position der Bioresonanztherapie (BRT) im Gesamtkrankheitsgeschehen. Erfahrungsheilkunde 12:803–811
- ↑ http://www.abi-ev.de/pdf/in141103.pdf
- ↑ www.symptome.ch/vbboard/gesundheit-allgemein/32129-wichtige-information-bioresonanz.html, Screenshot vom 25. Januar 2015
- ↑ Zitat von:
https://de.wikipedia.org/wiki/Bioresonanztherapie
eingesehen 22.12.2021
