Vita Tronic

Aus Psiram
Zur Navigation springen Zur Suche springen
Vita-Tronic.jpg
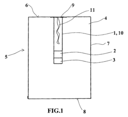
Aufbau laut Patentschrift.[1] 1, 10: "Akustischer Schallresonator" (Hohlzylinder aus Glas), 2: Schwingungsgenerator (Lautsprecher), 7: Sechseckiges Gehäuse, 11: "Drahtschleife aus Feinsilberdraht"

Der Vita Tronic Raumharmonisierer ist ein Gerät der österreichischen Firma Aqua Power Wasservitalisierungsgeräte GmbH[2], die auch Produkte zur Wasserbelebung wie das Gerät Aqua Power Joint vertreibt. Das Vita Tronic Gerät soll gesundheitlich schädliche Einflüsse angeblicher "Reizzonen" verringern; damit sind Erdstrahlen und Wasseradern sowie Elektrosmog gemeint. Versprochen werden branchenüblich eine Stärkung des Immunsystems, die Aktivierung von Selbstheilungskräften, "mehr Lebensqualität" usw. Verbessert werde außerdem "die Wirkung von Vitaminen, Bachblüten, Spagyrik, Schüsslersalzen sowie die gesamte Homöopathie". Erfinder ist der Aqua Power-Geschäftsführer Joachim Luttermann (geb. 1956). Beworben wird Vita Tronic mit einer Mischung aus esoterischen und scheinwissenschaftlichen Ausführungen, die keinen Sinn erkennen lassen. Bezug genommen wird auch auf die in der Radiästhesie gebräuchliche Fantasie-Maßeinheit Bovis, die hier "Reizeinheit" genannt wird. Der Vita Tronic verringere die Reizstärke auf einen unbedenklichen Wert von unter 700 Reizeinheiten.

Aufbau

Das patentierte[1] Gerät hat eine Höhe von rund 17 cm und eine sechseckige Grundfläche, die für die Wirkung bedeutsam sei, ebenso wie das auf der Oberseite eingravierte Motiv der Blume des Lebens. Besonders günstig sei laut Patentschrift eine Sechseck-Kantenlänge von knapp 13 cm, weil dies das 10-8-fache des Erddurchmessers sei. Im Innern des Gehäuses aus Keramik befindet sich ein weiterer, kleinerer Hohlkörper aus Glas, der als "Schallresonator" bezeichnet wird. Allerdings soll dieser Hohlraum mit mineralischen Materialien ("Bergkristallschrot, Rosenquarzschrot") gefüllt sein, die zudem mit Lehm vermengt sind, was ihn als akustischen Resonanzraum untauglich macht. Am Hohlraum angebracht ist ein Piezo-Schallwandler, der ein Signal mit einer Frequenz von 128 kHz erzeugt (die Frequenz liegt im Ultraschallbereich, das Signal ist unhörbar). Dies sei eine "Multivitalfrequenz", die "mit dem Erdmagnetfeld in Resonanz steht". Das Gerät wird am Stromnetz betrieben.

Gutachten

Das Gutachterbüro IIREC des Chemikers Walter Medinger hat 2005 eine "magnetfeldausgleichende Wirkung der Vita Tronic Technologie" bescheinigt, die bis zu einer Entfernung von 43 m nachzuweisen sei (der angebliche "Magnetfeldausgleich" ist eine Erfindung von Medinger und die Grundlage für einige Elektrosmog-Schutzprodukte, siehe z.B. Bicotec). Die Firma Aqua Power verweist außerdem auf eine Bioresonanzmessung durch das "Vivendi Privatinstitut", eine Einrichtung, die von Luttermanns Ehefrau Maria-Anna Luttermann betrieben wird und an der sie z.B. Reiki-Kurse abhält.

Quellen

  1. 1,0 1,1 AT 412 255B: Vorrichtung zur Harmonisierung von natürlichen Schwingungen des menschlichen Körpers. Beginn der Patentdauer: 15.05.2004
  2. AQUA POWER Wasservitalisierungsgeräte GmbH, Kittenbach 14, 8082 Kirchbach (bei Graz). Geschäftsführer: Joachim Luttermann. Luttermann ist außerdem Vorsitzender des Vereins Österreichischer Rutengänger VÖR, dessen Sitz mit der Anschrift seiner Firma identisch ist. Der Verein halte "öffentliche Vorträge in Volkshochschulen, Vereinen und gelegentlich auch in Gemeinderäumen über die fünf Arten von Erdstrahlen" und bietet Wohnungs- und Grundstücksbegehungen, Brunnensuche und eine "Überprüfung von Entstörgeräten" an.